• Tartalom

26/2010. (XII. 22.) NFM rendelet

26/2010. (XII. 22.) NFM rendelet

a közúti járművek forgalomba helyezésének és forgalomban tartásának műszaki feltételeiről szóló 6/1990. (IV. 12.) KöHÉM rendelet módosításáról

2011.01.01.

A közúti közlekedésről szóló 1988. évi I. törvény 48. § (3) bekezdés b) pont 11. alpontjában kapott felhatalmazás alapján, az egyes miniszterek, valamint a Miniszterelnökséget vezető államtitkár feladat- és hatásköréről szóló 212/2010. (VII. 1.) Korm. rendelet 84. § e) pontjában meghatározott feladatkörömben eljárva a következőket rendelem el:

1. § A közúti járművek forgalomba helyezésének és forgalomban tartásának

műszaki feltételeiről szóló 6/1990. (IV. 12.) KöHÉM rendelet (a továbbiakban: MR.) 2. §-a a következő (17)–(18) bekezdéssel egészül ki:

„(17) A rendelet alkalmazásában alacsonynyomású mezőgazdasági gumiabroncs az olyan gumiabroncs, amelynek előírt üzemi nyomását a gyártója legfeljebb 3,0 bar értékben határozta meg, és ezeknek a gumiabroncsoknak a nyomása a jármű legnagyobb össztömegű terhelése esetén sem haladja meg a 3,0 bar-t.
(18) A rendelet alkalmazásában mezőgazdasági pótkocsi a mezőgazdasági vontató vagy traktor által vontatott pótkocsi, továbbá a lassú jármű által vontatott olyan pótkocsi, amellyel rendszeresen mezőgazdasági termények szállítását végzik.”

2. § Az MR. 5. § (7) bekezdése a következő f) ponttal egészül ki:

(A jármű szélességi méreteibe – a megengedett legnagyobb szélesség szempontjából – nem számítanak bele:)

f) az (1) bekezdésben meghatározott megengedett szélességi méretet egyébként meg nem haladó mezőgazdasági vontatóra, lassú járműre és az általuk vontatott mezőgazdasági pótkocsira felszerelt ikerabroncsok, illetve alacsony nyomású mezőgazdasági gumiabroncsok. Az ilyen járművek esetében a járműre felszerelt gumiabroncsok külső szélei közötti távolság a 3,00 métert nem haladhatja meg.”

3. § (1) Az MR. 6. § (1) bekezdése helyébe a következő rendelkezés lép:

a) kéttengelyes jármű – kivéve az aa) és az ab) alpontban meghatározott jármű – esetében a

18,0 tonnát,

aa) kizárólag belföldi forgalomban használt jármű esetében a

20,0 tonnát,

ab) alacsonynyomású mezőgazdasági gumiabronccsal felszerelt mezőgazdasági vontatóból vagy lassú járműből és alacsonynyomású mezőgazdasági gumiabronccsal felszerelt mezőgazdasági pótkocsiból álló járműszerelvény esetében a

25,0 tonnát,

b) háromtengelyes

 

ba) gépjármű – kivéve a bb) alpontban meghatározott gépjármű – esetében a

25,0 tonnát,

bb) útkímélő tengelycsoporttal rendelkező gépjármű esetében a

26,0 tonnát,

bc) pótkocsi esetében a

24,0 tonnát,

bd) alacsonynyomású mezőgazdasági gumiabronccsal felszerelt mezőgazdasági vontatóból vagy lassú járműből és alacsonynyomású mezőgazdasági gumiabronccsal felszerelt mezőgazdasági pótkocsiból álló járműszerelvény esetében

32,0 tonnát,

c) négy és ennél több tengelyes jármű – kivéve a ca) alpontban meghatározott jármű – esetében a

30,0 tonnát,

ca) két kormányzott tengellyel, továbbá útkímélő tengelycsoporttal rendelkező gépjármű a

32,0 tonnát,

nem haladhatja meg.

 

(2) Az MR. 6. § (3) bekezdés c) pont ca) alpontja helyébe a következő rendelkezés lép:

(A fúvott gumiabronccsal felszerelt kerekű járműszerelvény együttes megengedett legnagyobb össztömege)

ca) legfeljebb „40 láb hosszú ISO konténer”-t szállító félpótkocsiból álló járműszerelvény esetében a 44,0 tonnát”

(nem haladhatja meg.)

4. § (1) Az MR. 7. § (1) bekezdése a következő ac) alponttal egészül ki:

[A jármű tengelyterhelése fúvott gumiabronccsal felszerelt jármű esetében – kivéve a (7) bekezdésben meghatározott esetet –]

ac) alacsonynyomású mezőgazdasági gumiabronccsal felszerelt mezőgazdasági vontatóból vagy lassú járműből és alacsonynyomású mezőgazdasági gumiabronccsal felszerelt mezőgazdasági pótkocsiból álló járműszerelvénynél a 13,0 tonnát”

(nem haladhatja meg.)

(2) Az MR. 7. § (2) bekezdés c) pontja a következő cc) alponttal egészül ki:

[Ha a két tengelyből álló tengelycsoportnál a szomszédos tengelyek egymástól mért távolsága (d)…legalább 1,30 méter és kisebb 1,80 méternél (1,30 m≤d<1,80 m), az ilyen tengelycsoport együttes megengedett legnagyobb tengelyterhelése]

cc) alacsonynyomású mezőgazdasági gumiabronccsal felszerelt mezőgazdasági vontatóból vagy lassú járműből és alacsonynyomású mezőgazdasági gumiabronccsal felszerelt mezőgazdasági pótkocsiból álló járműszerelvény esetében 22,0 tonna.”

(3) Az MR. 7. § (3) bekezdése a következő c) ponttal egészül ki:

[Ha a három tengelyből álló tengelycsoportnál a szomszédos tengelyek egymástól mért távolsága (d)]

c) 1,30 méternél nagyobb (1,30 m<d), az ilyen tengelycsoport együttes megengedett legnagyobb tengelyterhelése alacsonynyomású mezőgazdasági gumiabronccsal felszerelt mezőgazdasági vontatóból vagy lassú járműből és alacsonynyomású mezőgazdasági gumiabronccsal felszerelt mezőgazdasági pótkocsiból álló járműszerelvény esetében 32,0 tonna.”

5. § Az MR. 55/B. § (3) bekezdése helyébe a következő rendelkezés lép:

„(3) A nappali menetjelző lámpák elektromos kapcsolásának olyannak kell lennie, hogy a lámpa automatikusan bekapcsolódjon, ha a motorindító kapcsoló a motor indítására kész állapotában van, de – kivéve a 42. § (5) bekezdése szerinti esetet – automatikusan kapcsolódjanak ki, amikor a fényszórókat bekapcsolják.”

6. § (1) Az MR. 97. § (5)–(6) bekezdése helyébe a következő rendelkezések lépnek:

„(5) A gépjármű, a mezőgazdasági vontató, továbbá a lassú jármű szélvédőjén és ablakain – kivéve a lakófelépítmény ablakait – menet közben nem szabad függönyt, vagy olyan más megoldást (fólia, üvegre felhordott fényelnyelő vagy fényvisszaverő réteg stb.) alkalmazni, amely a szélvédőn, illetőleg a jármű ablakain a kilátást, illetőleg az átlátást megakadályozza.
(6) Az (5) bekezdésben meghatározott követelmény nem vonatkozik a jármű szélvédőjének és ablakainak fényáteresztő képességét csökkentő olyan eszközökre, amelyek alkalmazására a közlekedési hatóság az ER. 2. § (3) bekezdés h) pontja alapján, az ENSZ–EGB 43. számú előírás 21. számú mellékletében meghatározott, a biztonsági üvegezés járműbe szerelésére vonatkozó műszaki követelmények figyelembevételével engedélyt adott.”

(2) Az MR. 97. §-a a következő (7) bekezdéssel egészül ki:

„(7) A fényáteresztő-képesség mértéke megfelelő:
a) ha a szélvédő (kivéve a lehajtott napellenzők által takart üvegfelület), valamint a vezetőtéri oldalablakok üvegei esetében (amelyeken keresztül a jármű vezetője részére az oldalra való kilátás, valamint a visszapillantó tükrökkel a jármű mellett lévő mindkét forgalmi sávra történő hátralátás biztosítva van) a mérték legalább 70%;
b) egyéb ablakok (utastéri, raktéri oldal és hátsó ablakok) üvegei esetében 70% alatti mérték is megengedhető, ha a járművet két külső tükörrel szerelték fel.”

7. § (1) Az MR. 120. § 42. pontja helyébe a következő rendelkezés lép:

(Ez a rendelet a következő uniós jogi aktusoknak való megfelelést szolgálja:)

„42. a Tanács 91/226/EGK irányelve (1991. március 27.) a gépjárművek és pótkocsijaik egyes kategóriáinak a felcsapódó víz elleni védelmére vonatkozó tagállami jogszabályok közelítéséről, valamint az azt módosító 2006/96/EK tanácsi és 2010/19/EU bizottsági irányelv;”

(2) Az MR. 120. § 74. pontja helyébe a következő rendelkezés lép:

(Ez a rendelet a következő uniós jogi aktusoknak való megfelelést szolgálja:)

„74. a Tanács 76/763/EGK irányelve (1976. július 27.) a kerekes mezőgazdasági vagy erdészeti traktorok utasülésére vonatkozó tagállami jogszabályok közelítéséről, valamint az azt módosító 1999/86/EK tanácsi és 2010/52/EU bizottsági irányelv;”

(3) Az MR. 120. § 88. pontja helyébe a következő rendelkezés lép:

(Ez a rendelet a következő uniós jogi aktusoknak való megfelelést szolgálja:)

„88. az Európai Parlament és a Tanács 2009/144/EK irányelve (2009. november 30.) a kerekes mezőgazdasági vagy erdészeti traktorok egyes alkatrészeiről és jellemzőiről, valamint az azt módosító 2010/52/EU bizottsági irányelv;”

(4) Az MR. 120. § 94 pontja helyébe a következő rendelkezés lép:

(Ez a rendelet a következő uniós jogi aktusoknak való megfelelést szolgálja:)

„94. az Európai Parlament és a Tanács 2000/25/EK irányelve (2000. május 22.) a mezőgazdasági vagy erdészeti traktorok hajtására szánt motorok gáz- és szilárd halmazállapotú szennyezőanyag-kibocsátása elleni intézkedésről, valamint a 74/150/EGK tanácsi irányelv módosításáról, valamint az azt módosító 2005/13/EK bizottsági, 2006/96/EK tanácsi és 2010/22/EU bizottsági irányelvek;”

8. § Az MR. 121. §-a a következő f)–h) ponttal egészül ki:

(Ez a rendelet a következő uniós jogi aktusok végrehajtásához szükséges rendelkezéseket állapítja meg:)

f) az Európai Parlament és a Tanács 79/2009/EK rendelete (2009. január 14.) a hidrogénüzemű gépjárművek típusjóváhagyásáról és a 2007/46/EK irányelv módosításáról;
g) a Bizottság 406/2010/EU rendelete (2010. április 26.) a hidrogénüzemű gépjárművek típusjóváhagyásáról szóló 79/2009/EK európai parlamenti és tanácsi rendelet végrehajtásáról;
h) a Bizottság 672/2010/EU rendelete (2010. július 27.) egyes gépjárművek szélvédő-jégmentesítő és -párátlanító berendezéseire vonatkozó típus-jóváhagyási előírásokról, továbbá a gépjárművek, az ezekhez tervezett pótkocsik és rendszerek, alkatrészek, valamint önálló műszaki egységek általános biztonságára vonatkozó típus-jóváhagyási előírásokról szóló 661/2009/EK európai parlamenti és tanácsi rendelet végrehajtásáról.”

9. § (1) Az MR. 1. számú melléklete e rendelet 1. melléklete szerint módosul.

(2) Az MR. A. Függelék A/34. számú melléklete e rendelet 2. melléklete szerint módosul.

(6) Az MR. B. Függelék B/12. számú melléklete e rendelet 6. melléklete szerint módosul.

(7) Az MR. C. Függelék C/9. számú melléklete e rendelet 7. melléklete szerint módosul.

(8) Az MR. C. Függelék C/12. számú melléklete e rendelet 8. melléklete szerint módosul.

(9) Az MR. C. Függelék C/23. számú melléklete e rendelet 9. melléklete szerint módosul.

10. § Az MR. 74. § (4) bekezdés b) pont bb) alpontjában az „a műszaki biztonsági hatóság területi szerve” szövegrész helyébe a „hazai gyártású tartály esetében a gyártó, importból származó tartály esetében az importőr” szöveg lép.

11. § (1) Ez a rendelet – a (2)–(3) bekezdésben meghatározott kivétellel – 2011. január 1-jén lép hatályba.

(2) A 9. § (7) és (9) bekezdése, valamint a 7. és 9. melléklet 2011. március 2-án lép hatályba.

(3) A 9. § (4) bekezdése és a 4. melléklet 2011. április 9-én lép hatályba.

12. § (1) Ez a rendelet a következő uniós jogi aktusoknak való megfelelést szolgálja:

a) a Bizottság 2010/19/EU irányelve (2010. március 9.) a 91/226/EGK tanácsi irányelvnek és a 2007/46/EK európai parlamenti és tanácsi irányelvnek a gépjárművek és pótkocsijaik egyes kategóriáinak a felcsapódó víz elleni védelme területén a műszaki fejlődéshez való hozzáigazítás céljából történő módosításáról;

b) a Bizottság 2010/22/EU irányelve (2010. március 15.) a mezőgazdasági és erdészeti traktorok típusjóváhagyására vonatkozó 80/720/EGK, 86/298/EGK, 86/415/EGK és 87/402/EGK tanácsi irányelvnek, valamint a 2000/25/EK és a 2003/37/EK európai parlamenti és tanácsi irányelvnek a műszaki fejlődéshez való hozzáigazítása céljából történő módosítása 5. cikke;

c) a Bizottság 2010/52/EU irányelve (2010. augusztus 11.) a kerekes mezőgazdasági vagy erdészeti traktorok utasülésére vonatkozó 76/763/EGK tanácsi irányelv és a kerekes mezőgazdasági vagy erdészeti traktorok egyes alkatrészeiről és jellemzőiről szóló 2009/144/EK európai parlamenti és tanácsi irányelv műszaki rendelkezéseinek kiigazítása céljából történő módosításáról.

(2) Ez a rendelet a következő uniós jogi aktusok végrehajtásához szükséges rendelkezéseket állapítja meg:

a) az Európai Parlament és a Tanács 79/2009/EK rendelete (2009. január 14.) a hidrogénüzemű gépjárművek típusjóváhagyásáról és a 2007/46/EK irányelv módosításáról;

b) a Bizottság 406/2010/EU rendelete (2010. április 26.) a hidrogénüzemű gépjárművek típusjóváhagyásáról szóló 79/2009/EK európai parlamentiés tanácsi rendelet végrehajtásáról;

c) a Bizottság 672/2010/EU rendelete (2010. július 27.) egyes gépjárművek szélvédő-jégmentesítő- és párátlanító berendezéseire vonatkozó típus-jóváhagyási előírásokról, továbbá a gépjárművek, az ezekhez tervezett pótkocsik és rendszerek, alkatrészek, valamint önálló műszaki egységek általános biztonságára vonatkozó típus-jóváhagyási előírásokról szóló 661/2009/EK európai parlamenti és tanácsi rendelet végrehajtásáról.

1. melléklet a 26/2010. (XII. 22.) NFM rendelethez

1. Az MR. 1. számú melléklet 1. számú táblázat 1/A. táblázata helyébe a következő rendelkezés lép:

„1/A. táblázat
Gépkocsikra és pótkocsikra vonatkozó jóváhagyási kötelezettségek

MR

EK (EGK)

ENSZ–EGB

Műszaki terület

A

B

függelék/
melléklet (műszaki terület sorszáma)

alap-
irányelv
[rendelet]

utolsó módosító irányelv
[rendelet]

előírás

módosítási sorozat

Alkalmazási kötelezettség(1)

típus-
jóváhagyási eljárásban
M1/N1 kategória

típus-
jóváhagyási eljárásban
M2, M3, N2, N3, O kategória

egyedi engedé-
lyezési eljárásban

A/1.

70/157

2007/34

51

02

Zajszint és kipufogó berendezések

+

+

K

59

00

Pótalkatrész kipufogó berendezés

+

 

A/2

70/220
715/2007
692/2008

2006/69

83
83

05
06

Károsanyag-kibocsátás

+

+

K(5)

A/3.

70/221

2006/20

58

01

Tüzelőanyag-tartály és aláfutásgátló

+

+

C(2)

A/4.

70/222

Hátsó rendszámtábla elhelyezése

+

+

A/5.

70/311

99/7

79

01

Kormányberendezés

+

+

C

A/6.

70/387

2001/31

11

02

Ajtózárak és zsanérok

+

+

A/7.

70/388

87/354

28

00

Hangjelző berendezések

+

+

K

A/8.

71/127

2005/27

46

02

Visszapillantó tükrök

+

+

K

A/9.

71/320

2002/78

13

09

Fékezési tulajdonságok

+

+

K

90

01

Pótalkatrész-fékbetét

+

+

 

A/10.

72/245

2009/19

10

02

Elektromágneses összeférhetőség

+

+

A/11.

72/306

2005/21

24

03

Dízelmotorok kipufogógázai

+

+

K

A/12.

74/60

2000/4

21

01

Belső felszerelés kialakítása

+

A/13.

74/61

95/56

18

03

Illetéktelen használat elleni védelem

+

+

97

01

Riasztóberendezések

 

 

 

A/14.

74/297

91/662

12

03

Belső szerelvények kialakítása
(kormánynak ütközés)

+

A/15.

74/408

2005/39

17

07

Ülésszilárdság

+

+

A/16.

74/483

2007/15

26

03

Kinyúló részek

+

A/17.

75/443

97/39

39

00

Sebességmérő és hátramenet

+

+

K

A/18.

76/114

78/507

Gyári tábla

+

+

C

A/19.

76/115

2005/41

14

06

Biztonsági öv bekötése

+

+

A/20.

76/756

2009/89

48

04

Világítóberendezések

+

+

K(6)

A/21.

76/757

97/29

3

02

Fényvisszaverők

+

+

K

A/22.

76/758

97/30

7

02

Helyzetjelző és féklámpa

 

 

 

87

00

Nappali menetlámpa

+

+

K

91

00

Méretjelző

 

 

 

A/23.

76/759

99/15

6

01

Irányjelző

+

+

K

A/24.

76/760

97/31

4

00

Hátsó rendszámtábla megvilágítása

+

+

A/25.

76/761

99/17

1

02

Fényszórók

 

 

 

5

02

Aszimmetrikus fényszórók (Sealed Beam)

 

 

 

8

05

Halogén izzók

 

 

 

20

03

H4 fényszórók

+

+

K

31

02

Halogén sealed beam fényszórók

 

 

 

37

03

Izzólámpák

 

 

 

98

00

Fényszórók gázkisüléses fényforrással

 

 

 

99

00

Gázkisüléses fényforrások

 

 

 

A/26.

76/762

99/18

19

02

Első ködfényszórók

+

+

K

A/27.

77/389

96/64

Elvontató berendezés

+

+

A/28.

77/538

99/14

38

00

Hátsó ködfényszórók

+

+

K

A/29.

77/539

97/32

23

00

Hátrameneti (tolató-) lámpák

+

+

K

A/30.

77/540

99/16

77

00

Parkolólámpa

+

+

K

A/31.

77/541

2005/40

16

04

Biztonsági övek és utasbiztonsági rendszerek

+

+

K

A/32.

77/649

90/630

Látómező

+

A/33.

78/316

94/53

Működtető berendezések megjelölése, ellenőrző lámpák

+

+

A/34.

78/317

672/2010

Jég- és páramentesítő rendszerek

+

A/35.

78/318

94/68

Ablaktörlő-mosó berendezések

+

A/36.

2001/56

2004/78
2006/119

 

 

Fűtés

+

+

A/37.

78/549

94/78

Kerékburkolat

+

A/38.

78/932

87/354

17

07

Ülés rögzítés

+

25

04

Fejtámasz

+

A/39.

80/1268

2004/3
715/2007

101

00

CO2-kibocsátás és tüzelőanyag-fogyasztás

+

+

K

A/40.

80/1269

1999/99
595/2009

85

00

Motorteljesítmény mérés

+

A/41.

2005/55
2005/78

715/2007
2008/74
595/2009

49

03

Dízel-motor emisszió

+

+

K

A/41a.

595/2009

 

 

 

Dízel-motor emisszió (Euro VI), nehéz haszongépjárművek

 

+

K

A/42.

89/297

 

73

00

Oldalvédelem aláesés ellen

 

+

A/43.

91/226

2010/19

Felcsapódó víz elleni védelem

+

+

A/44.

92/21

95/48

Személygépkocsik tömege és méretei

+

 

K

A/45.

92/22

2001/92

43

00

Biztonsági üvegezés és üvegek

+

+

A/46.

92/23

2005/11

54

00

Gumiabroncsok és szerelhetőségük

 

 

 

30

02

Gumiabroncsok

+

+

+

64

00

Ideiglenes pótkerék

 

 

 

A/47.

92/24

 

89

00

Sebességkorlátozó készülék és beépítése

 

+

+

A/48.

97/27

2003/19

Tömeg, méret az M1-től különböző kategóriákban

 

+

A/49.

92/114

 

 

 

N kategóriájú járművek vezetőfülkéjében kinyúló részek

 

A/50.

94/20

 

55

01

Gépkocsik és pótkocsik kapcsoló-berendezései és felszerelésük

+

+

K

A/51.

95/28

 

118

00

Beltéri anyagok égési tulajdonságai

 

+

A/52.

2001/85

 

66

00

Autóbuszokra vonatkozó követelmények

 

+

K

A/53.

96/79

1999/98

94

01

Homlokütközés

+

 

A/54.

96/27

 

95

02

Oldalról történő ütközés

+

A/56.

98/91

 

105

03

Veszélyes áru szállító gépkocsik és pótkocsijuk

 

+

(3)

A/57.

2000/40

 

93

01

Mellső aláfutás elleni védelem

 

+

A/58.

78/2009
631/2009

 

Gyalogosok védelme

+

+

A/59.

2005/64

2009/1

 

 

Újrafelhasználhatóság, újrahasznosíthatóság, feldolgozhatóság

+

+

A/60.

2005/66

2006/368
78/2009
631/2009

 

 

Elülső védelmi rendszer

+

+

A/61.

2006/40
[706/
2007]

 

 

 

Légkondicionáló rendszer

+

+(4)

A/62.

79/2009
406/2010

 

 

 

Hidrogénüzemű gépjárművek

+

+

A/63.

661/2009

 

 

 

Általános biztonság

+

+

 

Megjegyzés
(1) Az alkalmazási kört, az alkalmazási kötelezettség hatálybalépését és az arra vonatkozó átmeneti rendelkezéseket lásd az MR. megfelelő műszaki területét szabályozó A. Függelék mellékletben.
(2) Kizárólag az N1 kategóriába tartozó járműveknél az aláfutásgátló esetében.
(3) A veszélyes áruszállító járművek ADR-vizsgálatának kötelezettségét ez a rendelkezés nem érinti.
(4) Azon N1 kategóriájú I. osztályba tartozó járművek, amelyek leírását az A. Függelék A/2. számú melléklet I. Rész 1.5.3.1.4. pontjának táblázata tartalmazza.
(5) Használt gépkocsi egyedi forgalomba helyezés engedélyezési eljárása során a jelzett követelményt – további vizsgálat nélkül – teljesítettnek kell tekinteni, amennyiben a gépkocsi típusa megfelel:
–  a gyártása időpontjában az EGT tagállamokban az új gépkocsikra vonatkozóan előirt környezetvédelmi (emissziós) konstrukciós követelményeknek, továbbá
–  a forgalomba helyezés engedélyezésének időpontját hat évvel megelőző időpontban az ENSZ–EGB 83. számú előírás – e rendeletben meghatározott – érvényes változatának.
(6) Használt gépkocsi egyedi forgalomba helyezési engedélyezési eljárása során a jelzett követelmény, továbbá a világító- és jelzőberendezésekre vonatkozóan a 37–70. §-ban meghatározott üzemeltetési műszaki feltételek teljesítése esetén az A/21–A/30. mellékletekben foglalt követelményeket – további vizsgálat nélkül – teljesítettnek kell tekinteni.”

2. Az MR. 1. számú melléklet 1. számú táblázat 1/C. táblázata helyébe a következő rendelkezés lép:

„1/C. táblázat

Traktorokra vonatkozó jóváhagyási kötelezettségek

MR

ENSZ–EGB

EK (EGK)

Műszaki terület

A

B

függelék/
melléklet (műszaki terület)
sorszáma

előírás

módosítási sorozat

alapirányelv

utolsó módosító irányelv

Alkalmazási kötelezettség(4)

típus-
jóváhagyási eljárásban

egyedi eljárásban

C/1.

74/151

2009/63

Traktorok meghatározott jellemzői és alkatrészei

+

C/2.

74/152

2009/58

Traktorok legnagyobb tervezett sebessége és rakfelülete

+

C/3.

74/346

2009/59

Traktorok visszapillantó tükrei

+

C/4.

74/347

2008/2

Traktorok látómezője és ablaktörlői

+

C/5.

75/321

2009/66

Traktorok kormányszerkezete

+

C/6.

75/322

2009/64

Traktorok rádiózavarszűrése

+

C/7.

75/323

A traktorok és a pótkocsik elektromos csatlakozójára vonatkozó követelmények

+

C/8.

76/432

97/54

Traktorok fékszerelvényei

+

C/9.

76/763

2010/52

Traktorok vezetőülése melletti pótülés

C/10.

77/311

2009/76

Traktorok vezetőire ható zajszint

+

C/11.

77/536

2009/57

Traktorok borulása elleni védőszerkezetek dinamikai vizsgálata

+

C/12.

96

01

77/537
2000/25

2005/13

A traktorok motorjának szennyezőanyag-kibocsátására vonatkozó követelmények

+

+(4)

C/13.

78/764

1999/57

Traktorok vezetőülése

C/14.

78/933

2009/61

Traktorok világító és fényjelző szerelvényei

+

C/15.

79/532

2009/68

Traktorok világító és fényjelző szerelvényei

+

C/16.

79/533

2009/58

Traktorok vontató és hátrameneti berendezései

C/17.

79/622

2009/75

Traktorok borulásának hatása elleni védőszerkezetek statikai vizsgálata

+

C/18.

80/720

97/54

Traktorok vezetőüléseinek megközelítése, ajtók, ablakok

C/19.

86/297

97/54

Traktorokhoz alkalmazott leágazó meghajtások

C/20.

86/298

2005/67

Traktorok borulásának hatása elleni védőszerkezetek vizsgálata

+

C/21.

86/415

97/54

Traktorok kezelőelemeinek beépítése, elhelyezése, működtetése

C/22.

87/402

2005/67

Keskeny nyomtávú traktorok borulásának hatása elleni védőszerkezetek vizsgálata

+

C/23.

2009/144

2010/52

Traktorok egyes alkatrészei és jellemzői

+

(4) A C/12. számú melléklet követelményeit csak új traktorok forgalomba helyezése esetén kell alkalmazni. Az egyes „szabályozási fokozatok” alkalmazására és az egyenértékűségekre vonatkozó rendelkezéseket a C/12. számú melléklet tartalmazza.

2. melléklet a 26/2010. (XII. 22.) NFM rendelethez

A közúti járművek forgalomba helyezésének és forgalomban tartásának műszaki feltételeiről szóló 6/1990. (IV. 12.) KöHÉM rendelet A. Függelék A/34. számú mellékletének módosítása
Az MR. A. Függelék A/34. számú melléklete közvetlenül a cím után, az 1. pont előtt a következő bevezető rendelkezéssel egészül ki:
„Az M1 kategóriájú gépkocsik jég- és páramentesítő rendszereire vonatkozó követelményekre az egyes gépjárművek szélvédő-jégmentesítő és -párátlanító berendezéseire vonatkozó típusjóváhagyási előírásokról, továbbá a gépjárművek, az ezekhez tervezett pótkocsik és rendszerek, alkatrészek, valamint önálló műszaki egységek általános biztonságára vonatkozó típus-jóváhagyási előírásokról szóló 661/2009/EK európai parlamenti és tanácsi rendelet végrehajtásáról szóló rendelkezéseket a Bizottság 672/2010/EU rendeletében (a továbbiakban: 672/2010/EU rendelet) foglaltakat kell alkalmazni. Azokra a járművekre azonban, amelyeknek a típusjóváhagyása 2012. október 31. napjáig megtörtént, illetve megtörténik, a 672/2010/EU rendelet helyett az e melléklet 1–8. pontjában foglalt rendelkezéseket is lehet alkalmazni.”

3. melléklet a 26/2010. (XII. 22.) NFM rendelethez

A nehéz tehergépjárművek kibocsátásai (Euro VI) tekintetében alkalmazandó szabályok
A nehéz tehergépjárművek kibocsátásai (Euro VI) tekintetében a gépjárművek és motorok típusjóváhagyására, valamint a járművek javítására és karbantartására vonatkozó információkhoz való hozzáférésre, az Európai Parlament és a Tanács 595/2009/EK rendeletében foglaltakat kell alkalmazni.”

4. melléklet a 26/2010. (XII. 22.) NFM rendelethez

A felcsapódó víz elleni védelem követelményei
I. RÉSZ
1. A melléklet alkalmazási köre
1.1. Ez a melléklet az N kategóriába tartozó gépkocsikra és az O kategóriába tartozó pótkocsikra (a továbbiakban: jármű) terjed ki.
2. Jóváhagyási rendelkezések
2.1. 2011. április 9-én kezdődő hatállyal a felcsapódó víz elleni védelem tekintetében a jóváhagyó hatóság nem tagadja meg az EK- vagy a nemzeti típusjóváhagyás megadását azon járművek vagy alkatrészek részére, amelyek megfelelnek az ezen mellékletben foglalt követelményeknek.
2.2. 2011. április 9-én kezdődő hatállyal a felcsapódó víz elleni védelem tekintetében a jóváhagyó hatóság megtagadja az EK- vagy a nemzeti típusjóváhagyás megadását azon járművek vagy alkatrészek részére, amelyek nem felelnek meg az ezen mellékletben foglalt követelményeknek.
2.3. Ha az ER. A. Függeléke szerint teljes jármű EK-típusjóváhagyására irányuló kérelmet nyújtanak be, azok a járműtípusok, amelyek már részesültek felcsapódó víz elleni védelemre is kiterjedő nemzeti vagy EK-típusjóváhagyásban, mentesülnek az e mellékletben meghatározott, a felcsapódó víz elleni védelemre vonatkozó követelmények alól.
A RÉSZEK JEGYZÉKE

II. RÉSZ:

Fogalommeghatározások

III. RÉSZ:

A felcsapódó víz elleni védőberendezés EK-alkatrész-típus-jóváhagyásával kapcsolatos követelmények

 

1. alfüggelék:

Az energiaelnyelő típusú, felcsapódó víz elleni védőberendezésekkel kapcsolatos vizsgálatok

 

2. alfüggelék:

A levegő/víz szétválasztó típusú, felcsapódó víz elleni védőberendezésekkel kapcsolatos vizsgálatok

 

3. alfüggelék:

Adatközlő lap az EK-alkatrész-típusjóváhagyáshoz

 

4. alfüggelék:

Az EK-alkatrész-típusbizonyítvány mintája

IV. RÉSZ:

A járművek EK-típusjóváhagyásának a felcsapódó víz elleni védőrendszerek rögzítésével kapcsolatos követelményei

 

1. alfüggelék:

Adatközlő lap az EK-jármű-típusjóváhagyáshoz

 

2. alfüggelék:

Az EK-jármű-típusbizonyítvány mintája

V. RÉSZ:

A gyártás megfelelősége

 

A gyártás megszüntetése

VI. RÉSZ:

1–9. ábra

II. RÉSZ
FOGALOMMEGHATÁROZÁSOK
E melléklet alkalmazásában a következő fogalommeghatározások érvényesek:
1. Felcsapódó víz elleni védőrendszer
Felcsapódó víz elleni védőrendszer: olyan rendszer, amelynek célja a mozgásban lévő jármű abroncsai által felhordott víz porladásának a csökkentése. A felcsapódó víz elleni védőrendszert a felcsapódó víz elleni védőberendezéssel együtt felszerelt sárvédő, vízterelő és sárfogó lapok alkotják.
2. Sárvédő
„Sárvédő”: olyan merev vagy félmerev alkatrész, amelynek célja a mozgó abroncsok által felhordott víz megállítása, illetve a talajfelszín felé történő irányítása. A sárvédők teljesen vagy részlegesen a jármű felépítményének vagy egyéb részeinek (például a rakodóplató alsó részének stb.) szerves részét képezhetik.
3. Vízterelő
„Vízterelő” olyan rugalmas alkatrész, amelyet függőlegesen szerelnek a kerék mögé, az alváz vagy a rakodófelület alsó részén vagy a sárvédőn.
A vízterelőnek feladata az is, hogy csökkentse az abroncsok által a talajról felszedett kisebb tárgyak – elsősorban kavicsok – fölfelé vagy oldalra, az út egyéb igénybevevői irányában történő kirepülésének a kockázatát.
4. Felcsapódó víz elleni védőberendezés
„Felcsapódó víz elleni védőberendezés”: a felcsapódó víz elleni védőrendszer részét képezi, amely a következőkből állhat:
4.1. Levegő/víz szétválasztó
A sárfogó lap és/vagy a vízterelő részét képező alkatrész, amelyen a levegő keresztül haladhat, de közben csökken a porlasztott víz szóródásának a mértéke.
4.2. Energiaelnyelő
A sárvédő és/vagy a sárfogó lap és/vagy a vízterelő részét képező alkatrész, amely elnyeli a vízpermet energiáját, és ily módon csökkenti a porlasztott víz szóródásának a mértékét.
5. Külső sárfogó lap
„Külső sárfogó lap”: a jármű hosszanti síkjával párhuzamos, körülbelül függőleges síkban elhelyezkedő alkatrész, amely a sárvédő vagy a jármű felépítményének a részét képezheti.
6. Kormányzott kerekek
„Kormányzott kerekek”: olyan kerekek, amelyeket a jármű kormányrendszere hoz működésbe.
7. Önbeálló tengely
„Önbeálló tengely”: valamely központi ponthoz forgócsappal rögzített olyan tengely, amely vízszintes ív leírására képes. Ezen melléklet alkalmazásában a „forgócsapos kormányzás” típusú önbeálló tengelyt kormányzott kerekekkel felszerelt tengelyként kell kezelni.
8. Saját kormányzású kerekek
„Saját kormányzású kerekek”: olyan kerekek, amelyeket nem a jármű kormányberendezése működtet, és amelyek – a talajjal való súrlódás következtében – legfeljebb 20°-os szögben tudnak elfordulni.
9. Felemelhető tengely
„Felemelhető tengely”: az A. Függelék A/48. számú melléklet I. Részének 2.15. pontjában meghatározott tengely.
10. Terheletlen jármű
„Terheletlen jármű”: az ER. A. Függelék A/1. melléklet 2.6. pontjában meghatározottak szerinti menetkész gépjármű.
11. Futófelület
„Futófelület”: a gumiabroncs A. Függelék A/46. számú melléklet II. Részének 2.8. pontjában meghatározottak szerinti része.
12. Felcsapódó víz elleni védőberendezés-típus
„Felcsapódó víz elleni védőberendezés-típus”: olyan berendezések, amelyek a következő főbb jellemzők vonatkozásában nem térnek el egymástól:
–    a vízfelszóródás csökkentésének alapelve (vízenergia-elnyelés, levegő/víz szétválasztás),
–    anyagok,
–    alak,
–    méretek (amennyiben ezek az anyag magatartását befolyásolhatják).
13. Nyerges vontató
„Nyerges vontató”: az A. Függelék A/48. számú melléklet I. Részének 2.1.1.2.2. pontjában meghatározottak szerinti vontatójármű.
14. Műszakilag megengedett össztömeg
„Műszakilag megengedett össztömeg”: az A. Függelék A/48. számú melléklet I. Részének 2.6. pontjában meghatározottak szerint a terhelt jármű legnagyobb tömege.
15. Járműtípus
„Járműtípus”: a felcsapódó víz elleni védelem vonatkozásában olyan teljes, nem teljes vagy befejezett járművek, amelyek a következő szempontok tekintetében nem különböznek egymástól:
–    a felcsapódó víz elleni védőberendezés típusa (a járműre szerelve),
–    a felcsapódó víz elleni védőberendezés gyártó szerinti típusjelölése.
III. RÉSZ
A FELCSAPÓDÓ VÍZ ELLENI VÉDŐBERENDEZÉSEK EGK-ALKATRÉSZ-TÍPUSJÓVÁHAGYÁSÁVAL KAPCSOLATOS KÖVETELMÉNYEK
0. Általános előírások
0.1. A felcsapódó víz elleni védőberendezéseket oly módon kell kialakítani, hogy azok nedves úton szokásos üzemi körülmények között megfelelően működjenek. Ezen túlmenően a felcsapódó víz elleni védőberendezések megfelelő működését, illetve viselkedését semmilyen szerkezeti vagy gyártási hiba nem gyengítheti.
1. Szükséges vizsgálatok
1.1. Fizikai működési alapelvüktől függően a felcsapódó víz elleni védőberendezéseket az 1. és 2. alfüggelékben leírt vonatkozó vizsgálatoknak kell alávetni az ezen alfüggelékek 4. pontjában előírt eredmények elérése céljából.
2. Az EK-alkatrész-típusjóváhagyás kérelmezése
2.1. Valamely felcsapódó víz elleni védőberendezés-típus ER. A. Függelék 7. cikke szerinti EK-alkatrész-típusjóváhagyására vonatkozó kérelmet a gyártó nyújtja be.
2.2. Az adatközlő lap mintáját a 3. alfüggelék tartalmazza.
2.3. A típus-jóváhagyási vizsgálatok elvégzéséért felelős műszaki szolgálathoz az alábbiakat kell benyújtani:
Négy minta: ezek közül három vizsgálati célokat szolgál, a negyediket pedig a laboratórium köteles megőrizni későbbi ellenőrzés céljából. A vizsgálólaboratórium további mintákat is igényelhet.
2.4. Jelölések
Minden egyes mintán világosan és letörölhetetlenül fel kell tüntetni a kereskedelmi nevet vagy védjegyet és a típus jelét, továbbá megfelelő nagyságú helyet kell kihagyni az EK-alkatrész-típusjóváhagyási jel számára.
3. Az EK-alkatrész-típusjóváhagyás megadása
3.1. A vonatkozó követelmények teljesülése esetén az ER. A. Függelék 10. cikke szerint meg kell adni az EK-típusjóváhagyást.
3.2. Az EK-típusbizonyítvány mintája a 4. alfüggelékben található.
3.3. Az ER. A. Függelék A/7. mellékletével összhangban jóváhagyási számmal kell ellátni a felcsapódó víz elleni védőberendezés minden jóváhagyott típusát. Ugyanaz a tagállam nem adhatja ugyanazt a számot a felcsapódó víz elleni védőberendezés egy másik típusának.
3.4. Valamennyi, ezen melléklet szerint jóváhagyott valamely típusnak megfelelő kivitelű felcsapódó víz elleni védőberendezést el kell látni az EK-alkatrész-típusjóváhagyási jellel úgy, hogy az letörölhetetlen és könnyen olvasható legyen akkor is, amikor a berendezést rögzítették a járműre.
3.5. Az energiaelnyelő típusú berendezések esetében „A” betűvel, a levegő/víz szétválasztó típusú berendezések esetében „S” betűvel kell a jóváhagyási jelet kiegészíteni az ER. A. Függelék A/7. melléklete kiegészítésének 1.3. pontjával összhangban.
l.  alfüggelék
Az energiaelnyelő típusú, felcsapódó víz elleni védőberendezésekkel kapcsolatos vizsgálatok
1. Alapelv
E vizsgálat célja annak számszerűsítése, hogy egy berendezés milyen mértékben képes visszatartani a sugársorozatban ráirányított vizet. A vizsgálati berendezés célja azoknak a körülményeknek a reprodukálása, amelyek között a berendezésnek valamely járműre történő felszerelését követően működnie kell, legalábbis ami az abroncs futófelülete által a talajról felhordott víz mennyiségét és sebességét illeti.
2. Berendezések
A vizsgálati berendezések leírását lásd az VI. Rész 8. ábráján.
3. Vizsgálati körülmények
3.1. A vizsgálatokat zárt helyiségben, légmozgás nélküli környezetben kell elvégezni.
3.2. A környezeti hőmérséklet és a próbadarabok hőmérséklete 21 (± 3) °C legyen.
3.3. Deionizált vizet kell használni.
3.4. A próbadarabokat nedvesítéssel kell mindegyik vizsgálathoz előkészíteni.
4. Eljárás
4.1. A vizsgálandó eszköznek egy 500 (+0/–5) mm széles és 750 mm hosszú mintáját a vizsgálóberendezés függőleges vázához kell erősíteni, meggyőződve arról, hogy a minta jól fekszik a vízgyűjtő határfelületei között, továbbá hogy a vizet semmilyen akadály nem tudja eltéríteni sem a berendezésen történő becsapódás előtt, sem azután.
4.2. A víz áramlási sebességét 0,675 (+/–0,01) l/s értékre kell beállítani, és 500 (+/–2) mm-es vízszintes távolságból rá kell irányítani a mintára legalább 90 liter, de legfeljebb 120 liter vizet (VI. Rész, 8. ábra).
4.3. Hagyni kell, hogy a víz a mintáról a gyűjtőbe csepegjen. Ki kell számítani az összegyűjtött és a szétfröccsent víz mennyisége közötti különbséget (százalékban).
4.4. A vizsgálatot ötször kell elvégezni a mintán a 4.2. és a 4.3. pontnak megfelelően. Meg kell határozni az öt vizsgálatból álló sorozat átlagos százalékos arányát.
5. Eredmények
5.1. A 4.4. pontban kiszámított átlagos százalékos aránynak legalább 70%-nak kell lennie.
5.2. Amennyiben az öt vizsgálatból álló sorozatban az összegyűjtött víz legnagyobb és legkisebb százalékos aránya több mint 5%-kal eltér az átlagos százaléktól, akkor az öt vizsgálatból álló sorozatot meg kell ismételni.
Amennyiben a második öt vizsgálatból álló sorozatban a visszanyert víz legnagyobb és legkisebb százalékos aránya ismét több mint 5%-kal eltér az átlagos százaléktól, és ha az alsó érték nem felel meg az 5.1. pont követelményeinek, akkor a típusjóváhagyás nem adható meg.
5.3. Ellenőrizni kell, hogy a berendezés függőleges helyzete befolyásolja-e a kapott eredményeket. Ha igen, akkor a 4.1–4.4. pontban leírt eljárást meg kell ismételni azokban a pozíciókban, amelyek az összegyűjtött víz legnagyobb és legkisebb százalékos arányát eredményezték; az 5.2. pontban foglalt követelmények továbbra is érvényben maradnak.
Az egyes eredmények középértékét kell ezután venni az átlagos százalékos arány megadásához. Az átlagos százalékos aránynak legalább 70-nek kell lennie.
2. alfüggelék
A levegő/víz szétválasztó típusú, felcsapódó víz elleni védőberendezésekkel kapcsolatos vizsgálatok
1. Alapelv
A vizsgálat célja valamely vízvisszatartásra készült porózus anyag hatékonyságának a meghatározása, amelynek vízzel való bepermetezése egy túlnyomásos levegő/víz porlasztó segítségével történik.
A vizsgálóberendezésnek azokat a körülményeket kell szimulálnia, amelyek között a berendezésnek valamely járműre történő rögzítését követően kell működnie, legalábbis ami az abroncs futófelülete által a talajról felhordott víz mennyiségét és sebességét illeti.
2. Berendezés
A vizsgálati berendezés leírását lásd az VI. Rész 9. ábráján.
3. Vizsgálati körülmények
3.1. A vizsgálatokat zárt helyiségben, légmozgás nélküli környezetben kell elvégezni.
3.2. A környezeti hőmérséklet és a próbadarabok hőmérséklete 21 (± 3) °C legyen.
3.3. Deionizált vizet kell használni.
3.4. A próbadarabokat nedvesítéssel kell mindegyik vizsgálathoz előkészíteni.
4. Eljárás
4.1. Egy 305 × 100 mm méretű mintát függőlegesen a vizsgálóberendezéshez kell erősíteni, majd meg kell győződni arról, hogy a minta és a felső ívelt lemez között nincs rés, valamint a tálca megfelelő helyzetben van. A porlasztótartályt meg kell tölteni 1 ± 0,005 liter vízzel, és az ábrán látható módon kell elhelyezni.
4.2. A porlasztót a következők szerint kell beállítani:
nyomás (a porlasztónál): 5 bar + 10% / – 0%
áramlási sebesség: 1 liter/perc ± 5 mp
porlasztás: körkörös, 50 ± 5 mm átmérőjű, a mintától 200 ± 5 mm-re, 5 ± 0,1 mm átmérőjű fúvókával.
4.3. Porlasztani kell mindaddig, amíg eloszlik a vízköd, és fel kell jegyezni az eltelt időt. Hagyni kell, hogy a víz 60 másodpercen keresztül a mintából a tálcára folyjon, majd meg kell mérni az összegyűjtött víz mennyiségét. Meg kell mérni a porlasztótartályban maradt víz mennyiségét. Ki kell számítani az összegyűjtött és a porlasztott víz mennyiségi különbséget (százalékban).
4.4. A vizsgálatot ötször kell elvégezni, és meg kell határozni az összegyűjtött mennyiség átlagos százalékos arányát. Minden egyes vizsgálat előtt ellenőrizni kell a tálca, a porlasztótartály, valamint a mérőedény száraz voltát.
5.Eredmények
5.1. A 4.4. pontban kiszámított átlagos százalékos aránynak legalább 85%-nak kell lennie
5.2. Amennyiben egy öt vizsgálatból álló sorozatban az összegyűjtött víz legnagyobb és legkisebb százalékos aránya több mint 5%-kal eltér az átlagértéktől, az öt vizsgálatból álló sorozatot meg kell ismételni. Amennyiben az összegyűjtött víz legnagyobb és legkisebb százalékos aránya a második öt vizsgálatból álló sorozatban is több mint 5%-kal eltér az átlagos értéktől, és amennyiben az alsó érték nem felel meg az 5.1. pont követelményeinek, úgy a típusjóváhagyás nem adható meg.
5.3. Amennyiben az eszköz függőleges helyzete befolyásolja a kapott eredményeket, úgy a 4.1–4.4. pontban leírt eljárást olyan pozíciókban kell megismételni, amelyek az összegyűjtött víz legnagyobb és legkisebb százalékos arányát eredményezik; az 5.2. pont követelményei továbbra is érvényben maradnak
Az egyes vizsgálatok eredménye szempontjából az 5.1. pont követelményeit kell érvényesnek tekinteni.
3. alfüggelék
... számú adatközlő lap a felcsapódó víz elleni védőberendezések EK-alkatrész-típusjóváhagyásához
(91/226/EGK irányelv)
Az alábbi adatokat, szükség szerint, három példányban, tartalomjegyzékkel együtt kell benyújtani. A rajzokat megfelelő méretben, kellő részletességgel, A4-es formátumban vagy A4-es formátumra összehajtogatva kell beadni. Amennyiben vannak fényképek, azoknak megfelelően részletesnek kell lenniük.
Ha a rendszerek, alkatrészek vagy önálló műszaki egységek elektronikus vezérléssel működnek, ezek teljesítményére vonatkozóan is kell adatokat szolgáltatni.
0. ÁLTALÁNOS
0.1. Gyártmány (a gyártó kereskedelmi neve):
0.2. Típus:
0.5. A gyártó neve és címe:
0.7. Alkatrészek és önálló műszaki egységek esetében az EK-típus-jóváhagyási jel helye és rögzítésének módja:
0.8. Az összeszerelő üzem(ek) címe(i):
1. A BERENDEZÉS LEÍRÁSA
1.1. A felcsapódó víz elleni védőberendezés műszaki leírása, feltüntetve a működési alapelvet és az elvégzendő vizsgálatot:
1.2. Felhasznált anyagok:
1.3. Kellő részletességű és megfelelő léptékű rajz(ok) az azonosítás lehetővé tétele céljából. A rajznak jeleznie kell az EK-alkatrész-típusjóváhagyási jel elhelyezésére előirányzott helyet:
Dátum
Aláírás
4. alfüggelék
Minta
(legnagyobb méret: A4 [210 × 297 mm])
EK-típusbizonyítvány

 

A típusjóváhagyó hatóság
bélyegzője

 

Tájékoztató a következőkről:
–    EK-típusjóváhagyás
–    EK-típusjóváhagyás kiterjesztése
–    EK-típusjóváhagyás megtagadása
–    EK-típusjóváhagyás visszavonása
egy jármű/alkatrész/önálló műszaki egység(1) típusával kapcsolatban, a legutoljára a 2010/19/EU bizottsági irányelvvel(2) módosított 91/226/EGK irányelvre tekintettel
Típus-jóváhagyási szám:
A kiterjesztés indoka:
I. szakasz
0.1. Gyártmány (a gyártó kereskedelmi neve):
0.2. Típus:
0.3. Típusazonosító ismertetőjelek, amennyiben azok fel vannak tüntetve a járművön/alkatrészen/önálló műszaki egységen(1)(3)
0.3.1. Az ismertetőjelek feltüntetési helye:
0.4. Jármű-kategória(4)
0.5. A gyártó neve és címe:
0.7. Alkatrészek és önálló műszaki egységek esetében az EK-típus-jóváhagyási jel helye és rögzítésének módja:
0.8. Az összeszerelő üzem(ek) címe(i):
II. szakasz
1. Kiegészítő információk (szükség esetén): lásd a kiegészítést.
2. A vizsgálatok elvégzéséért felelős műszaki szolgálat:
3. A vizsgálati jegyzőkönyv kelte:
4. A vizsgálati jegyzőkönyv száma:
5. Megjegyzések (adott esetben): lásd a kiegészítést.
6. Hely:
7. Dátum:
8. Aláírás:
9. Mellékelve: a jóváhagyó hatóságnál elhelyezett információs csomag betűrendes mutatója, amely kérésre beszerezhető.
Kiegészítés
a felcsapódó víz elleni védőberendezéseket érintő ... számú EK-típusbizonyítványhoz,
a legutoljára a 2010/19/EU irányelvvel módosított 91/226/EGK irányelvre tekintettel
1. Kiegészítő információk
1.1. A berendezés működési elve: energiaelnyelő/levegő/víz szétválasztó(1):
1.2. A felcsapódó víz elleni védőberendezések jellemzői (rövid leírás, védjegy vagy név, szám(ok):
5. Megjegyzések (adott esetben):
Megjegyzések:
(1) A nem kívánt rész törlendő.
(2) HL L xx., 2010.3.20., xx. o.
(3) Ha a típusazonosítási mód olyan karaktereket tartalmaz, amelyek nem alkalmasak a jelen típusbizonyítvány által érintett jármű, alkatrész vagy önálló műszaki egység típusának a leírására, akkor ezeket a karaktereket a következő szimbólummal kell a dokumentációban megjeleníteni: „?” (például ABC?? 123?? ).
(4) Az ER. A. Függelék A/2. mellékletének A fejezetében meghatározottak szerint”
IV. RÉSZ
A JÁRMŰTÍPUSOK EGK-TÍPUSJÓVÁHAGYÁSÁNAK A FELCSAPÓDÓ VÍZ ELLENI VÉDŐRENDSZEREK RÖGZÍTÉSÉVEL KAPCSOLATOS KÖVETELMÉNYEI
HATÁLY
0.1. Az ER. A. Függelék A/2. mellékletében meghatározottak szerinti N és O kategóriájú járműveket – a terepjáró járművek kivételével – a jelen mellékletben foglalt követelményeknek megfelelően kell kialakítani, és/vagy a felcsapódó víz elleni védőberendezésekkel felszerelni. Az alvázas/vezetőfülkés járművek esetében ezek a követelmények csak a vezetőfülke által takart kerekekre alkalmazhatók.
A 7,5 tonna legnagyobb megengedett tömeget meghaladó N1 és N2 kategóriájú járművek esetében a gyártó kérésére az A. Függelék A/37. számú melléklet követelményei alkalmazhatók ezen irányelv követelményeinek alternatívájaként.
0.2. A II. Rész 4. pontjában megállapított, felcsapódó víz elleni védőberendezésekre vonatkozó jelen melléklet követelményei nem kötelezőek a 7,5 tonna legnagyobb megengedett tömeget meg nem haladó N, O1 és O2 kategóriájú járművek, az alvázas/vezetőfülkés járművek, a felépítmény nélküli járművek vagy az olyan járművek esetében, ahol a felcsapódó víz elleni védőberendezések jelenléte összeegyeztethetetlen a járművek felhasználásával. Ha azonban az ilyen járműveket mégis ellátják ilyen védőberendezésekkel, akkor azoknak teljesíteniük kell az e mellékletben foglalt követelményeket.
AZ EK-TÍPUSJÓVÁHAGYÁS KÉRELMEZÉSE
1.1. A valamely járműtípusra vonatkozó, felcsapódó víz elleni védőrendszer felszerelését illető EK-típusjóváhagyás kérelmezését az illető berendezés gyártójának vagy a gyártó felhatalmazott képviselőjének kell benyújtania.
1.2. A kérelemhez három példányban az alábbi dokumentumokat, illetve a következő adatokat kell csatolni:
1.2.1. a szóban forgó felcsapódó víz elleni védőrendszer műszaki leírását, továbbá egy vagy több, az azonosíthatósághoz megfelelő részletességű és léptékű rajzot.
1.3. A jóváhagyási vizsgálatokat végző műszaki szolgálat számára egy, az illető felcsapódó víz elleni védőrendszerrel felszerelt és a jóváhagyandó járműtípust reprezentáló járművet kell benyújtani.
EGK-TÍPUSJÓVÁHAGYÁS
2. Az EK-típusbizonyítványhoz egy, az alfüggelékben szereplő mintának megfelelő bizonyítványt kell csatolni.
ÁLTALÁNOS ELŐÍRÁSOK
3. Tengelyek
3.1. Felemelhető tengelyek
Ha valamely jármű egy vagy több felemelhető tengellyel van ellátva, akkor a felcsapódó víz elleni védőrendszernek a tengely leengedésekor valamennyi kereket, a tengely felemelésekor pedig a talajjal érintkező kerekeket kell eltakarnia.
3.2. Önbeálló tengelyek
Ha valamely jármű önbeálló tengellyel van ellátva, akkor a felcsapódó víz elleni védőrendszernek – amennyiben a forgó részre van felszerelve – a nem kormányzott kerekekre vonatkozó feltételeket kell teljesítenie.
Amennyiben viszont nem a forgórészre van szerelve, akkor a felcsapódó víz elleni védőrendszernek a kormányzott kerekekre vonatkozó feltételeknek kell megfelelnie.
4. A külső sárvédő perem helyzete
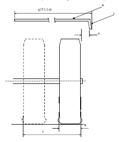
A külső abroncsfal hosszirányú érintő síkja – eltekintve a gumiabroncs útfelület-közeli kiboltosodásától – és a sárvédő perem belső széle közötti „c” távolság 100 mm-nél nem lehet nagyobb (VI. Rész, 1a. és 1b. ábra).
5. A jármű állapota
A mellékletnek való megfelelőség ellenőrzésekor a járműnek az alábbi állapotban kell lennie:
a)    a járműnek terheletlennek, a kerekeknek pedig egyenes meneti helyzetűnek kell lenniük;
b)    nyerges vontatók esetében a rakfelületnek vízszintesnek kell lennie;
c)    az abroncsokat rendes levegőnyomásra kell beállíttatni.
6. Felcsapódó víz elleni védőrendszerek
6.1. A felcsapódó víz elleni védőrendszernek a 7., illetve a 9. pontban foglalt előírásoknak kell megfelelnie.
6.2. A felépítménypadló, illetve a rakodóplató alsó része által takart nem kormányzott, illetve saját kormányzású kerekek felcsapódó víz elleni védőrendszerének a 7. vagy 9., illetve a 8. pont előírásainak kell megfelelnie.
KÜLÖNLEGES KÖVETELMÉNYEK
7. Az energiaelnyelő típusú, felcsapódó víz elleni védőrendszerekkel kapcsolatos követelmények kormányzott, saját kormányzású vagy nem kormányzott kerekekkel szerelt tengelyek esetén
7.1. Sárvédők
7.1.1. A sárvédőknek a közvetlenül az abroncs vagy abroncsok fölötti, előtti és mögötti zónát a következőképpen kell takarniuk:
a)    szólótengely vagy tengelycsoportok esetében az első szélnek (C) úgy kell előrenyúlnia, hogy elérje azt az O–Z vonalat, ahol a Θ (téta) = a vízszintes sík fölött legfeljebb 45°.
A leghátsó szélnek (VI. Rész, 2. ábra) oly módon kell lefelé nyúlnia, hogy legfeljebb 100 mm-rel legyen a kerék középpontján keresztülhaladó vízszintes vonal fölött;
b)    tengelycsoportok esetében a Θ szög csak a legelső tengelyre vonatkozik, és a leghátsó szél magasságával kapcsolatos követelmény csak a leghátsó tengelyre vonatkozik;
c)    a sárvédő teljes „q” szélességének (VI. Rész, 1a. ábra) legalább olyannak kell lennie, hogy elfedje az abroncs „b” vagy – ikerkerekek esetén – két abroncs „t” teljes szélességét, figyelembe véve az abroncs/kerék egységnek a gyártó által meghatározott határhelyzeteit. A „b” és „t” méreteket a kerékagy magasságában kell mérni, figyelmen kívül hagyva az abroncsfalakon található összes jelzést, bordát, védőszalagot stb.
7.1.2. A sárvédő hátsó részének első oldalára egy, a III. Rész 1. alfüggeléke szerinti előírásoknak megfelelő felcsapódó víz elleni védőberendezést kell felszerelni. Ennek a berendezésnek a sárvédő belső oldalát kell befednie, méghozzá olyan magasságban, amelyet az az egyenes vonal határoz meg, amely a kerék középpontjától indul, és a vízszintes síkkal legalább 30°-os szöget zár be (3. ábra).
7.1.3. Ha a felszerelt sárvédők több alkatrészből állnak, akkor azokon nem lehet semmilyen olyan nyílás, amelyen a jármű mozgása közben vízpermet hatolhat át. Ez a követelmény akkor tekinthető teljesítettnek, ha a jármű terhelt vagy terheletlen állapotában a kerék középpontjából kifelé az abroncs futófelületére és a sárvédők által takart tartományon belül áramló radiális vízsugár mindig nekiütközik a felcsapódó víz elleni védőberendezés egy részének.
7.2. Külső sárfogó lapok
7.2.1. Egyes tengelyek esetében a külső sárvédő perem alsó széle nem helyezkedhet el az alábbi távolságokon és sugarakon kívül, a kerék középpontjától mérve, a legalsó szélső pontok kivételével, amelyek lekerekítettek lehetnek (VI. Rész, 2. ábra).
7.2.2. Tengelycsoportok esetében a 7.2.1. pontban meghatározott követelmények nem vonatkoznak az első és az utolsó tengely középpontján áthaladó függőleges keresztirányú síkok közötti részre, ahol a külső sárvédő peremek egyenesek lehetnek a felcsapódó víz elleni védőberendezés folytonosságának biztosítása érdekében (VI. Rész, 4. ábra).
7.2.3. A felcsapódó víz elleni védőberendezés legfelső és legalsó pontja (a sárvédő és a külső sárvédő perem) közötti távolság – a sárvédőre merőleges bármelyik keresztmetszetben mérve (lásd VI. Rész 1b. és 2. ábráját) – a kerék középpontján vagy tengelycsoportok esetében az első kerék középpontján keresztülhaladó függőleges vonal mögötti egyik pontnál sem lehet 45 mm-nél kevesebb. Ez a méret e vonal előtt fokozatosan csökkenthető.
7.2.4. A külső sárfogó lapokon, illetve a külső sárfogó lapok és a sárvédők egyéb részei között nem lehetnek olyan nyílások, amelyek a jármű mozgása közben lehetővé teszik a vízpermet kiszivárgását.
7.2.5. A 7.2.3. és 7.2.4. pont követelményeit nem szükséges helyileg figyelembe venni, ha a sárvédő perem egymáshoz képest elmozduló több különböző elemből tevődik össze.
7.2.6. Az MSZ 2760 szabványban meghatározott alacsony alvázú félpótkocsikhoz előirányzott vontatók, nevezetesen azok, amelyek az útfelülethez viszonyítva legfeljebb 1 100 mm kapcsolócsap-magassággal rendelkezhetnek, olyan módon tervezhetők meg, hogy mentesüljenek a 7.1.1.a), 7.1.3. és 7.2.4. pont követelményei alól. Ebben a tekintetben a sárvédőknek és a sárvédő peremeknek nem szükséges takarniuk a hátsó tengelyek abroncsai fölött közvetlenül elhelyezkedő területet, amikor ezeket a vontatókat félpótkocsihoz csatlakoztatják azért, hogy a felcsapódó víz elleni védőberendezés ne váljon hasznavehetetlenné. Az ilyen járművek sárvédői és sárvédő peremei azonban feleljenek meg a fenti pontok követelményeinek azokban a szakaszokban, amelyek 60°-nál nagyobb szögben vannak a kerék középpontján áthaladó függőleges vonaltól, ezen abroncsok előtt és mögött.
Ezért ezeket a járműveket úgy kell megtervezni, hogy megfeleljenek az első bekezdésben meghatározott követelményeknek, amikor félpótkocsi nélkül közlekednek.
E követelmények teljesíthetősége érdekében a sárvédők és a sárvédő peremek például egy levehető résszel rendelkezhetnek
7.3. Vízterelő
7.3.1. A sárfogó szélességének a 7.1.1. c) pontban megadott „q”-ra vonatkozó követelményeknek kell megfelelnie, kivéve, amikor a sárfogó a sárvédőkön belül van, amely esetben a sárfogó szélességének legalább az abroncs futófelületének szélességével kell megegyeznie
A sárfogók sárvédő alatt elhelyezett részének szélessége feleljen meg az ebben a bekezdésben foglalt feltételnek, mindkét oldalon 10 mm-es tűréssel.
7.3.2. A vízterelőnek alapvetően függőleges irányban kell elhelyezkednie.
7.3.3. Az alsó szél legnagyobb magassága nem haladhatja meg a 200 mm-t (VI. Rész, 3. ábra).
Ez a távolság 300 mm-re emelkedik annak az utolsó tengelynek az esetében, amelynél a külső sárvédő perem alsó szélének Rv radiális távolsága nem nagyobb, mint az ugyanarra a tengelyre felszerelt abroncsok sugárméretei.
A sárfogó alsó szélének útfelülettől mért legnagyobb magassága 300 mm-re emelhető, ha azt a gyártó műszakilag megfelelőnek tartja a felfüggesztési jellemzők figyelembevételével.
7.3.4. A vízterelő 300 mm-nél nem lehet távolabb – vízszintesen mérve – az abroncs leghátsó szélétől.
7.3.5. Az olyan tengelycsoportok esetében, ahol a szomszédos tengelyeken lévő abroncsok közötti „d” távolság 250 mm-nél kisebb, csak a hátsó kerekekhez kell vízterelőket felszerelni. Abban az esetben kell valamennyi kerék mögé vízterelőt felszerelni, ha a szomszédos tengelyeken lévő abroncsok közötti „d” távolság legalább 250 mm (VI. Rész 4. ábra).
7.3.6. A vízterelő 100 mm-nél nem hajolhatnak el jobban a jármű hátsó része felé a vízterelő alsó széle fölött 50 mm-rel lévő ponton fellépő 3 N/100 mm vízterelő szélesség értékű erő hatására.
7.3.7. A vízterelő előírt legkisebb méretekkel rendelkező első oldali részének egészére olyan felcsapódó víz elleni védőberendezést kell felszerelni, amely megfelel a III. Rész 1. alfüggeléke előírásainak.
7.3.8. A sárvédő alsó, hátsó széle és a vízterelő között nem lehet semmilyen olyan nyílás, amely lehetővé teszi a vízpermet kiáramlását.
7.3.9. Amennyiben a felcsapódó víz elleni védőberendezés megfelel a vízterelőre vonatkozó előírásoknak (7.3. pont), úgy további vízterelőre nincs szükség.
8. Az energiaelnyelő típusú, felcsapódó víz elleni védőberendezésekkel felszerelt felcsapódó víz elleni védőrendszerekkel kapcsolatos követelmények nem kormányzott és saját kormányzású kerekekkel ellátott bizonyos tengelyek esetén (lásd a 6.2. pontot)
8.1. Sárvédők
8.1.1. A sárvédőknek közvetlenül az abroncs vagy abroncsok fölötti zónát el kell takarniuk. A sárvédők elülső és hátulsó végének legalább az abroncs vagy abroncsok felső szélét érintő vízszintes síkig kell kinyúlnia (5. ábra). A sárvédők hátsó vége azonban vízterelővel is helyettesítő, amely esetben ennek a sárvédő (vagy azzal egyenértékű alkatrész) felső részéig kell kinyúlnia.
8.1.2. A sárvédő belső oldalának teljes hátsó részét olyan felcsapódó víz elleni védőberendezéssel kell ellátni, amely megfelel a III. Rész 1. alfüggelékében szereplő követelményeknek.
8.2. Külső sárfogó lapok
8.2.1. Egyes tengelyek vagy olyan tengelycsoportek esetében, ahol a szomszédos abroncsok közötti távolság legalább 250 mm, a külső sárfogó lapnak a sárvédő alsó részétől a felső részéig terjedő felületet kell eltakarnia egészen addig az egyenes vonalig, amelyet az abroncs, vagy abroncsok felső szélének érintője képez, és amely az abroncs elejének érintője által képzett függőleges sík és a kerék, vagy kerekek mögött található sárvédő, vagy vízterelő között húzódik (5b. ábra).
Tengelycsoportok esetén minden egyes kerékhez sárfogó lapot kell elhelyezni.
8.2.2. A külső sárfogó lap, valamint a sárvédő belseje között nem lehet semmilyen olyan nyílás, amely vízpermet kiáramlását teszi lehetővé.
8.2.3. Amennyiben nincs minden egyes kerék mögött vízterelő (lásd a 7.3.5. pontot), úgy a külső sárfogó lapnak folyamatosnak kell lennie a vízterelő külső széle és az első tengelyen levő abroncs (5a. ábra) elejének legtávolabbi pontján érintő függőleges sík között.
8.2.4. A legalább 100 mm kötelező magasságú külső sárfogó lap teljes belső felületét olyan energiaelnyelő típusú, felcsapódó víz elleni védőberendezéssel kell ellátni, amely megfelel a III. Részben foglalt követelményeknek.
8.3. Vízterelő
A vízterelőnek a sárvédő alsó részéig kell kinyúlniuk, és a 7.3.1.–7.3.9. pontban foglaltaknak kell megfelelniük.
9. A levegő/víz szétválasztó típusú, felcsapódó víz elleni védőberendezésekkel felszerelt felcsapódó víz elleni védőrendszerekkel kapcsolatos követelmények kormányzott és nem kormányzott kerekkel ellátott tengelyekre vonatkozóan
9.1. Sárvédők
9.1.1. A sárvédőknek meg kell felelniük a 7.1.1. c) pontban foglalt követelményeknek.
9.1.2. Egyes tengelyek, illetve az olyan tengelycsoportok esetében, ahol a szomszédos tengelyeken lévő abroncsok közötti távolság 300 mm-nél nagyobb, a sárvédőknek a 7.1.1. a) pontban foglalt követelményeknek is meg kell felelniük.
9.1.3. Az olyan tengelycsoportok esetében, ahol a szomszédos tengelyeken lévő abroncsok közötti távolság nem haladja meg a 300 mm-t, a sárvédőknek a 7. ábrán látható mintával is meg kell egyezniük.
9.2. Külső sárfogó lapok
9.2.1. A külső sárfogó lapok alsó széleit a III. Részben foglalt követelményeknek megfelelő levegő/víz szétválasztó típusú, felcsapódó víz elleni védőberendezéssel kell felszerelni.
9.2.2. Egyes tengelyek vagy olyan tengelycsoportok esetében, ahol a szomszédos tengelyeken levő abroncsok közötti „d” távolság nagyobb, mint 300 mm, a külső sárfogó lap alsó széle az alábbi – a kerék középpontjából mért – távolságokon, illetve sugarakon belül kell elhelyezkednie (6. és 7. ábra):
9.2.3. Olyan tengelycsoportok esetében, ahol a szomszédos tengelyeken levő abroncsok közötti „d” távolság 100 mm-nél nem nagyobb, a tengelyek közötti résben található külső sárfogó lapokat a 9.1.3. pontban meghatározott távolságokra kell elhelyezni, és azok alsó irányban legfeljebb 100 mm-rel lehetnek a kerekek középpontján keresztülhaladó vízszintes vonal fölött (7. ábra).
9.2.4. A külső sárfogó lap mélységi mérete a kerék középpontján keresztülhaladó függőleges vonal mögötti egyik pontnál sem lehet 45 mm-nél kevesebb. A sárfogó lapok mélysége e vonal előtt fokozatosan csökkenthető.
9.2.5. A külső sárfogó lapokon, illetve a külső sárfogó lapok és a sárvédők egyéb részei között nem lehetnek olyan nyílások, amelyek a jármű mozgása közben lehetővé teszik a vízpermet kiszivárgását.
9.3. Vízterelő
9.3.1. A vízterelőnek az alábbi követelményeknek kell megfelelniük:
a)7.3. pont (3. ábra); vagy
b)7.3.1., 7.3.2., 7.3.5., 7.3.8. és 9.3.2. pont (6. ábra).
9.3.2. A III. Rész 2. alfüggelékében szereplő előírásoknak megfelelő, felcsapódó víz elleni védőberendezést kell felszerelni – legalább a teljes szél mentén – a 9.3.1. b) pontban említett vízterelőre.
9.3.2.1. A felcsapódó víz elleni védőberendezés alsó széle legfeljebb 200 mm-rel lehet a talaj fölött.
A sárfogó alsó szélének útfelülettől mért legnagyobb magassága 300 mm-re emelhető, ha azt a gyártó műszakilag megfelelőnek tartja a felfüggesztési jellemzők figyelembevételével.
9.3.2.2. A felcsapódó víz elleni védőberendezésnek legalább 100 mm mélységi kiterjedésűnek kell lennie.
9.3.2.3. Az alsó résztől eltekintve – amely a felcsapódó víz elleni védőberendezést foglalja magában – a 9.3.1. b) pontban említett vízterelő 100 mm-nél nem hajolhat jobban hátra 3 N/100 mm vízterelő szélesség értékű, az üzemi helyzetben levő felcsapódó víz elleni védőberendezés és a vízterelő találkozási pontjánál mért és a vízterelő alsó széle fölött 50 mm távolságban ható erő hatására.
9.3.3. A vízterelő 200 mm-nél nem lehet távolabb – vízszintesen mérve – az abroncs leghátsó szélétől.
10. Tengelycsoport esetében egy tengely felcsapódó víz elleni védőberendezésének, amely hátrafelé nem a legtávolabbi, nem kell feltétlenül elfednie az abroncs futófelületének teljes szélességét, ha helyileg lehetőség adódik a felcsapódó víz elleni védőberendezés és a tengelyek szerkezete, vagy az alváz felfüggesztése közötti kölcsönhatásra.
1. alfüggelék
... SZÁMÚ ADATKÖZLŐ LAP A JÁRMŰVEK EK-TÍPUSJÓVÁHAGYÁSÁVAL KAPCSOLATBAN, A FELCSAPÓDÓ VÍZ ELLENI VÉDŐRENDSZEREK RÖGZÍTÉSÉRE VONATKOZÓAN (A LEGUTOLJÁRA A 2010/19/EU IRÁNYELVVEL MÓDOSÍTOTT 91/226/EGK IRÁNYELV) (*)
(A magyarázó megjegyzéseket lásd az ER. A. Függelék A/1. mellékletében.)
Az alábbi adatokat, szükség szerint, három példányban, tartalomjegyzékkel együtt kell benyújtani. A rajzokat megfelelő méretben, kellő részletességgel, A4-es formátumban vagy A4-es formátumra összehajtogatva kell beadni. Amennyiben vannak fényképek, azoknak megfelelően részletesnek kell lenniük.
Ha a rendszerek, alkatrészek vagy önálló műszaki egységek elektronikus vezérléssel működnek, ezek teljesítményére vonatkozóan is kell adatokat szolgáltatni.
0. ÁLTALÁNOS
0.1. Gyártmány (a gyártó kereskedelmi neve):
0.2. Típus:
0.2.1. Kereskedelmi név/nevek (ha vannak):
0.3. Típusazonosító ismertetőjelek, amennyiben azok fel vannak tüntetve a járművön (b)
0.3.1. Az ismertetőjelek feltüntetési helye:
0.4. Jármű-kategória (c):
0.5. A gyártó neve és címe:
0.8. Az összeszerelő üzem(ek) címe(i):
1. A JÁRMŰ ÁLTALÁNOS MŰSZAKI JELLEMZŐI
1.1. Egy reprezentatív jármű fényképei és/vagy rajzai:
1.3. Tengelyek és kerekek száma:
1.3.1. Két kerékkel ellátott tengelyek száma és helyzete:
1.3.2. Kormányzott tengelyek száma és helyzete
2. TÖMEGEK ÉS MÉRETEK (f) (g)
(kg-ban és mm-ben) (adott esetben utalva a rajzokra)
2.1. Tengelytáv(ok) (teljes terhelésnél) (g) (l):
2.6. Menetkész tömeg (minden változatra a legnagyobb és a legkisebb értékkel)
A jármű tömege felépítménnyel együtt, a nem az M1 kategóriába tartozó vontató esetén – amennyiben azt a gyártó beszerelte – csatlakozóberendezéssel együtt, menetkész állapotban, vagy az alváz tömege, illetve az alváz tömege vezetőfülkével együtt, felépítmény és/vagy csatlakozóberendezés nélkül, amennyiben a felépítményt vagy a csatlakozóberendezést a gyártó nem szerelte be (ideértve a folyadékokat, szerszámokat, pótkereket, ha van, valamint a járművezetőt, autóbuszok esetén a kísérő személyt, amennyiben van kísérőülés a járműben (h) (minden változatra a legnagyobb és a legkisebb értékkel):
2.6.1. A fenti tömeg tengelyek közötti megoszlása, és félpótkocsi vagy középtengelyes pótkocsi esetén a terhelés az összekapcsolási ponton (minden változatra a legnagyobb és a legkisebb értékkel):
2.8. A gyártó által megadott, műszakilag megengedett legnagyobb össztömeg (i) (3):
9. FELÉPÍTMÉNY
9.20. Felcsapódó víz elleni védőrendszer
9.20.0. Felszerelve: igen/nem/nem teljes (1)
9.20.1. A jármű rövid leírása, tekintettel a felcsapódó víz elleni védelemre és annak alkotóelemeire:
9.20.2. A felcsapódó víz elleni védőrendszer részletes rajza és a járművön való elhelyezkedése, mutatva a 91/226/EGK irányelv V. Mellékletének ábráin meghatározott méreteket, és figyelembe véve az abroncs/kerék szélsőséges kombinációit:
9.20.3. A felcsapódó víz elleni védőberendezés(ek) jóváhagyási száma(i), ha van(nak):
Dátum, iktatás
2. alfüggelék
Minta
(legnagyobb méret: A4 [210 × 297 mm])
EK-típusbizonyítvány

 

A típusjóváhagyó hatóság
bélyegzője

 

Tájékoztató a következőkről:
–    EK-típusjóváhagyás (1)
–    EK-típusjóváhagyás kiterjesztése (1)
–    EK-típusjóváhagyás megtagadása (1)
–    EK-típusjóváhagyás visszavonása (1)
egy jármű/alkatrész/önálló műszaki egység típusával kapcsolatban, a legutoljára a 2010/19/EU irányelvvel (1) módosított 91/226/EGK irányelvre tekintettel
Típus-jóváhagyási szám:
A kiterjesztés indoka:
I. szakasz
0.1. Gyártmány (a gyártó kereskedelmi neve):
0.2. Típus:
0.3. Típusazonosító ismertetőjelek, amennyiben azok fel vannak tüntetve a járművön/alkatrészen/önálló műszaki
egységen (1) (2)
0.3.1. Az ismertetőjelek feltüntetési helye:
0.4. Jármű-kategória (2) (3)
0.5. A gyártó neve és címe:
0.7. Alkatrészek és önálló műszaki egységek esetében az EK-típus-jóváhagyási jel helye és rögzítésének módja:
0.8. Az összeszerelő üzem(ek) címe(i):
II. szakasz
1. Kiegészítő információk (szükség esetén): lásd a kiegészítést.
2. A vizsgálatok elvégzéséért felelős műszaki szolgálat:
3. A vizsgálati jegyzőkönyv kelte:
4. A vizsgálati jegyzőkönyv száma:
5. Megjegyzések (adott esetben): lásd a kiegészítést.
6. Hely:
7. Dátum:
8. Aláírás:
9. Mellékelve: a jóváhagyó hatóságnál elhelyezett információs csomag betűrendes mutatója, amely kérésre beszerezhető.
Megjegyzések:
(1) A nem kívánt rész törlendő.
(2) Ha a típusazonosítási mód olyan karaktereket tartalmaz, amelyek nem alkalmasak a jelen típusbizonyítvány által érintett jármű, alkatrész vagy önálló műszaki egység típusának a leírására, akkor ezeket a karaktereket a következő szimbólummal kell a dokumentációban megjeleníteni: „?” (például ABC?? 123?? ).
(3) Az ER. A. Függelék A/2. mellékletének A. fejezetében meghatározottak szerint.
Kiegészítés
A JÁRMŰVEK TÍPUSJÓVÁHAGYÁSÁT ÉRINTŐ ... SZÁMÚ EK-TÍPUSBIZONYÍTVÁNYHOZ, A LEGUTOLJÁRA A 2010/19/EU IRÁNYELVVEL MÓDOSÍTOTT 91/226/EGK IRÁNYELVRE TEKINTETTEL
1.Kiegészítő információk
1.1. A felcsapódó víz elleni védőberendezések jellemzői (típus, rövid leírás, védjegy vagy név, alkatrész-típusjóváhagyási szám(ok):
5. Megjegyzések (ha vannak):
V. RÉSZ
A GYÁRTÁS MEGFELELŐSÉGE
A GYÁRTÁS MEGSZÜNTETÉSE
1. A gyártás megfelelősége
1.1. Az EGK-alkatrész- típusjóváhagyási jelet viselő valamennyi, felcsapódó víz elleni védőberendezésnek meg kell felelnie a jóváhagyott típusnak. Az EGK típus-jóváhagyási jelet kibocsátó hatóság egy mintát magánál tart arra a célra, hogy – az EGK-alkatrész-típusbizonyítvánnyal együtt – megállapítható legyen, hogy az EGK-alkatrész- típusjóváhagyási jellel forgalmazott berendezések teljesítik-e a jelzett követelményeket.
1.2. A berendezés típusát a minta, valamint az EGK-alkatrész-típusjóváhagyásának kérelmezésekor benyújtott leíró dokumentumok határozzák meg. Ugyanahhoz a típushoz tartozónak olyan berendezéseket lehet tekinteni, amelyek jellemzői egyformák a mintául szolgáló berendezés jellemzőivel, és amelyek egyéb alkatrészei sem térnek el a mintául szolgáló berendezés alkatrészeitől, nem számítva az ebben a mellékletben említett jellemzőket nem érintő eltéréseket.
1.3. A jóváhagyott típus gyártási megfelelőségének biztosítása érdekében a gyártó rutinvizsgálatokat végez.
Ebből a célból a gyártó köteles:
–    vagy olyan laboratóriummal rendelkezni, amely az elsőrendű fontosságú vizsgálatok elvégzéséhez megfelelő felszereltségű, vagy
–    valamely jóváhagyott laboratórium által elvégeztetni a gyártásmegfelelőségi vizsgálatokat.
A gyártásmegfelelőségi vizsgálatok eredményei legalább évente egyszer, betekintés céljából a hatáskörrel rendelkező hatóság rendelkezésére állnak.
1.4. A hatáskörrel rendelkező hatóság szúrópróbaszerű ellenőrzéseket is végezhet.
1.5. A gyártásnak a jóváhagyott berendezéstípussal való azonosságát a III. Részben rögzített körülmények között, illetve módszerekkel összhangban kell ellenőrizni.
Az alkatrész-típusjóváhagyást megadó hatóság kérésére a gyártó a hatóság rendelkezésére bocsátja vizsgálatok, vagy megfelelőségi ellenőrzések céljából a típusjóváhagyást korábban elnyert típusú berendezéseket.
1.6. A berendezések megfelelősége akkor áll fenn, ha 10, véletlenszerűen választott mintából 9 megfelel a III. Rész 1. és 2. alfüggelékének 4. pontjában foglalt követelményeknek.
1.7. Amennyiben nem teljesül az 1.6. pontban meghatározott feltétel, úgy további 10, véletlenszerűen választott mintát kell megvizsgálni.
Az összes elvégzett mérés átlagának meg kell felelnie a III. Rész 1. és 2. alfüggelékének 4. pontjában foglalt előírásoknak, és egyik egyedi mérés értéke sem lehet kisebb, mint a meghatározott érték 95%-a.
2. A gyártás megszüntetése
A gyártást megszüntető EK-alkatrész-típusjóváhagyás birtokosa köteles erről a tényről azonnal értesíteni a hatáskörrel rendelkező hatóságot.
VI. RÉSZ
ÁBRÁK
1a. ábra
Az (a) sárvédő (q) szélessége, valamint a (j) sárvédő perem helyzete
Megjegyzés: a számok a IV. Rész vonatkozó pontjaira utalnak
1b. ábra
Példa a külső sárvédő perem mérésére
2. ábra
A sárvédő és a külső sárvédő perem méretei
Megjegyzés: 1. A számok a IV. Rész vonatkozó pontjaira utalnak.
2. T: a sárvédő kiterjedése
3. ábra
A sárvédő és a sárfogó helyzete
Megjegyzés: A számok a IV. Rész vonatkozó pontjaira utalnak
4. ábra
A felcsapódó víz elleni (energiaelnyelő típusú) védőberendezéseket magában foglaló, felcsapódó víz elleni védőrendszerek (sárvédő, sárfogó, külső sárvédő perem) összeállítását bemutató ábra, tengelycsoport esetében
5. ábra
A felcsapódó víz elleni (energiaelnyelő típusú) védőberendezéseket magában foglaló, felcsapódó víz elleni védőrendszer összeállítását bemutató ábra, nem kormányzott vagy saját kormányzású kerekekkel ellátott tengelyek esetében
(IV. Rész, 6.2. és 8. pont)
a) Tengelycsoport, ahol az abroncsok közötti távolság 250 mm-nél kisebb
b) Egyes tengelyek vagy tengelycsoport, ahol az abroncsok közötti távolság legalább 250 mm
6. ábra
Levegő/víz szétválasztó típusú felcsapódó víz elleni védőberendezésekkel felszerelt felcsapódó víz elleni védőrendszer összeállítását bemutató ábra, kormányzott, saját kormányzású vagy nem kormányzott kerekekkel ellátott tengelyek esetében
Megjegyzés:
1. A számok a IV. Rész vonatkozó pontjaira utalnak
2. T: A sárvédők kiterjedése
7. ábra
A felcsapódó víz elleni védőberendezéseket (sárvédő, sárfogó, külső sárvédő perem) magában foglaló, felcsapódó víz elleni védőrendszer összeállítását bemutató ábra, tengelycsoport esetében, ahol az abroncsok közötti távolság nem haladja meg a 300 mm-t
d ≥ 250; sárfogó szükséges
Megjegyzés:
1. A számok a IV. Rész vonatkozó pontjaira utalnak
2. T: a sárvédő kiterjedése
8. ábra
Vizsgálóberendezés energiaelnyelő típusú, felcsapódó víz elleni védőberendezésekhez
(III. Rész, 1. alfüggelék)
Megjegyzés
A = vízellátás szivattyúból
B = vízáramlás a gyűjtőtartály felé
C = az 500 (+5/–0) mm hosszú és 75 (+2/–0) mm széles belső méretű gyűjtő
D = rozsdamentes acélcső, külső átmérő 54 mm, falvastagság 1,2 (+/–0,12) mm, belső és külső felületi érdesség (Ra) 0,4 és 0,8 μm között
E = 12 db hengeres, sugárszerűen fúrt lyuk, sorjamentes szögletes széllel. A cső belsején és külsején mért átmérőjük: 1,68 (+0,010/–0) mm.
F = 500 (+0/–5) mm széles vizsgálandó minta
G = szilárd sima lap
Valamennyi lineáris méret mm-ben van feltüntetve
9. ábra
Vizsgálóberendezés levegő/víz szétválasztó típusú, felcsapódó víz elleni védőberendezésekhez
(III. Rész, 2. alfüggelék)
5. melléklet a 26/2010. (XII. 22.) NFM rendelethez
A hidrogénüzemű gépjárművek típusjóváhagyására vonatkozó követelmények
1. A hidrogénüzemű gépjárművek típusjóváhagyására vonatkozó követelményeket az Európai Parlament és a Tanács 79/2009/EK rendelete (a továbbiakban: 79/2009/EK rendelet) határozza meg.
1.1. A közlekedési hatóság, a hidrogénmeghajtással kapcsolatos indokok alapján, új gépjárművek, illetve új típusú hidrogén-alkotórészek vagy rendszerek EK-típusjóváhagyásánál, új járművek esetében a járművek nyilvántartásba vételénél, eladásánál és üzembe helyezésénél, új hidrogén alkotórészek és hidrogénrendszerek eladásánál és üzembe helyezésénél a 79/2009/EK rendelet 11. cikkében foglaltak alapján jár el.
2. A hidrogénüzemű gépjárművek típusjóváhagyása során az A/39., az A/40. és az A/53. számú mellékletben foglaltak nem alkalmazandók.

6. melléklet a 26/2010. (XII. 22.) NFM rendelethez

A közúti járművek forgalomba helyezésének és forgalomban tartásának műszaki feltételeiről szóló 6/1990. (IV. 12.) KöHÉM rendelet B. Függelék B/12. számú mellékletének módosítása
Az MR. B. Függelék B/12. számú melléklet VII. fejezet 2.2. pontja helyébe a következő rendelkezés lép:
„2.2. A gyártónak ki kell jelentenie, hogy az alábbi jellemzők nem fogják 10%-nál többel megnövelni a B. kategóriájú motorkerékpár teljesítményét vagy 5 km/ó-nál többel megnövelni a segédmotoros kerékpár sebességét és semmi esetre sem következhet be az adott kategóriára meghatározott legnagyobb tervezett sebesség vagy legnagyobb hasznos motorteljesítmény túllépése: gyújtás (előgyújtás stb.), hajtóanyagrendszer.”

7. melléklet a 26/2010. (XII. 22.) NFM rendelethez

A közúti járművek forgalomba helyezésének és forgalomban tartásának műszaki feltételeiről szóló 6/1990. (IV. 12.) KöHÉM rendelet C. Függelék C/9. számú mellékletének módosítása

1. Az MR. C. Függelék C/9. számú melléklet címéhez tartozó 1 jelzetű lábjegyzet helyébe a következő rendelkezés lép:

1 Ez a melléklet a Tanács 76/763/EGK irányelvével, és az azt módosító, a Tanács 97/54/EK, a Tanács 1999/86/EK, valamint a Bizottság 2010/52/EU irányelvével összeegyeztethető szabályozást tartalmaz.”

2. Az MR. C. Függelék C/9. számú melléklet II. Része helyébe a következő rendelkezés lép:

„II. Rész
Követelmények
Az utas-üléseknek (ha vannak) meg kell felelniük az MSZ EN 15694:2009 szabványnak.”

3. Az MR. C. Függelék C/9. számú melléklete a következő III. Résszel egészül ki:

„III. Rész
Jóváhagyási rendelkezések
1. 2011. március 2. napját követően azokkal a járművekkel kapcsolatban, amelyek megfelelnek az e mellékletben, valamint a C/23. számú mellékletben meghatározott követelményeknek, az e melléklet tárgyával kapcsolatos okok alapján a jóváhagyó hatóság: nem utasíthatja el az EK-típusjóváhagyás vagy a nemzeti típusjóváhagyás megadását; vagy nem tilthatja meg ilyen járművek nyilvántartásba vételét, értékesítését vagy forgalomba helyezését.
2. 2012. március 2. napját követően azokkal az új járműtípusokkal kapcsolatban, amelyek nem felelnek meg az e mellékletben, valamint a C/23. számú mellékletben meghatározott követelményeknek, az e melléklet tárgyával kapcsolatos okok alapján a jóváhagyó hatóság: megtagadja az EK-típusjóváhagyás megadását; és megtagadhatja a nemzeti típusjóváhagyás megadását.
3. 2013. március 2. napját követően azokkal az új járművekkel kapcsolatban, amelyek nem felelnek meg az e mellékletben, valamint a C/23. számú mellékletben meghatározott követelményeknek, az e melléklet tárgyával kapcsolatos okok alapján a jóváhagyó hatóság: az ER. C. Függelék 7. cikke (1) bekezdésének alkalmazásában az ilyen új járművekhez az ER. C. Függelék szerint kiadott megfelelőségi igazolásokat érvényüket vesztettnek tekinti; és megtagadja az ilyen járművek nyilvántartásba vételét, értékesítését vagy forgalomba helyezését.”

8. melléklet a 26/2010. (XII. 22.) NFM rendelethez

A közúti járművek forgalomba helyezésének és forgalomban tartásának műszaki feltételeiről szóló 6/1990. (IV. 12.) KöHÉM rendelet C. Függelék C/12. számú mellékletének módosítása
Az MR. C. Függelék C/12. számú melléklet IV/E. RÉSZ 2. szakasza helyébe a következő rendelkezés lép:
„2. szakasz Az alapirányelv száma, amelyet az I. szakasz esetében az A, a II. szakasz esetében a B, a III. A. szakasz esetében a C, a III. B. szakasz esetében a D és a IV. szakasz esetében az E betű követ.”

9. melléklet a 26/2010. (XII. 22.) NFM rendelethez

A közúti járművek forgalomba helyezésének és forgalomban tartásának műszaki feltételeiről szóló 6/1990. (IV. 12.) KöHÉM rendelet C. Függelék C/23. számú mellékletének módosítása

1. Az MR. C. Függelék C/23. számú melléklet címéhez tartozó lábjegyzet helyébe a következő rendelkezés lép:

1 Ez a melléklet az Európai Parlament és a Tanács 2009/144/EK irányelvével és a Bizottság azt módosító 2010/52/EU irányelvével összeegyeztethető szabályozást tartalmaz.”

2. Az MR. C. Függelék C/23. számú melléklet II. Rész címében a „Követelmények” szövegrész helyébe a „Sebességszabályozó, valamint a hajtóelemek, a kiálló részek és a kerekek védelme, különleges alkalmazásokra vonatkozó kiegészítő biztonsági követelmények, kezelési útmutató” szöveg lép.

„3. KIEGÉSZÍTŐ BIZTONSÁGI KÖVETELMÉNYEK KÜLÖNLEGES ALKALMAZÁSOKHOZ
3.1. Leeső tárgyak ellen védő szerkezetek
A leeső tárgyak ellen védő szerkezeteknek (ha vannak) meg kell felelniük az OECD 10. kódexének .
3.2. A kezelőt védő szerkezetek
3.2.1. A kezelőt védő szerkezeteknek (ha vannak) meg kell felelniük az MSZ ISO 8084:2003 szabványnak .
3.2.2. A 3.2.1. pont rendelkezéseinek sérelme nélkül a III. A. melléklet 1.1.3. pontja szerinti, üvegezéssel ellátott traktorok – az erdészeti célú alkalmazások kivételével – kezelőt védő szerkezetekkel felszerelt traktoroknak tekintendők.
3.3. Veszélyes anyagokkal történő érintkezés megelőzése
Az MSZ EN 15695–1:2010 szabvány követelményei alkalmazandók az ER. C. Függelék 2. cikkének j) pontjában meghatározott valamennyi traktorra, ha azokat olyan körülmények között használják, amelyek veszélyes anyagokkal történő érintkezés kockázatával járhatnak; ilyen esetben a kezelőfülkének a szabvány 2., 3. vagy 4. szintjének követelményeit kell teljesítenie. Le kell írni a megfelelő szint kiválasztásának kritériumait, amelyeknek összhangban kell állniuk a kezelési útmutatóban feltüntetett kritériumokkal. Peszticidek permetezéséhez a kezelőfülkének 4. szintűnek kell lennie.
4. KEZELÉSI ÚTMUTATÓ
A kezelési útmutatónak meg kell felelnie az ISO 3600:1996 szabványnak, a 4.3. szakasz (Gépek jelölése) kivételével.
4.1. A kezelési útmutatónak különösen, illetve az ISO 3600:1996 szabvány követelményein kívül a következőket kell tartalmaznia:
a) a kezelő számára a kezelőszervekhez viszonyítva ergonomikus testhelyzetet biztosító, valamint a teljes test rázkódása okozta kockázatot minimálisra csökkentő ülésbeállítás és felfüggesztés;
b) a fűtő-, szellőző és légkondicionáló rendszer (ha van) használata és beállítása;
c) a motor beindítása és leállítása;
d) a vészkijáratok helye és nyitásának módja;
e) felszállás a traktorra és leszállás a traktorról;
f) az ízelt kormányzású traktorok csuklós tengelye körüli veszélyes terület;
g) egyedi eszközök használata (ha vannak);
h) a szervizelés és a karbantartás biztonságos módszerei;
i) tájékoztatás a hidraulikus tömlők ellenőrzésének gyakoriságáról;
j) a traktor vontatására vonatkozó utasítások;
k) az emelők biztonságos használatára és az ajánlott támasztópontokra vonatkozó utasítások;
l) az akkumulátorokkal és üzemanyagtartályokkal kapcsolatos veszélyek;
m) a traktor használatának tiltása, ha borulásveszély áll fenn, azzal a megjegyzéssel, hogy a felsorolás nem teljes;
n) forró felületekkel kapcsolatos, egyéb kockázatok, úgy mint olaj vagy hűtőfolyadék töltése forró motorba vagy hajtóműbe;
o) a leeső tárgyak ellen védő szerkezet (ha van ilyen) védelmi szintje;
p) a veszélyes anyagok elleni védelem (ha van ilyen) szintje;
q) a kezelőt védő szerkezet (ha van ilyen) védelmi szintje.
4.2. Traktorra szerelt gépek, pótkocsik és cserélhető vontatott gépek összekapcsolása, szétkapcsolása és használata
A kezelési útmutatónak tartalmaznia kell a következőket:
a) figyelmeztetés a traktorra szerelt vagy vontatott gép vagy pótkocsi kezelési útmutatójában szereplő utasítások szigorú betartására, valamint arra, hogy csak valamennyi utasítást betartva működtessék a traktor – gép vagy traktor – pótkocsi összeállítást;
b) figyelmeztetés a távolságtartásra a hárompontos kapcsolórendszer ellenőrzésekor;
c) arra vonatkozó figyelmeztetés, hogy a felszerelt gépet le kell engedni a talajra a traktorról való leszállás előtt;
d) teljesítményleadó tengely fordulatszáma a felszerelt gép vagy vontatott jármű függvényében;
e) kizárólag megfelelő védőburkolattal ellátott teljesítményleadó tengelyek használatának követelménye;
f) tájékoztatás a hidraulikus kapcsolókról és azok funkciójáról;
g) tájékoztatás a hárompontos kapcsolórendszer maximális emelési kapacitásáról;
h) tájékoztatás az össztömeg, a tengelyterhelés, a gumiabroncs terhelhetőségének és a szükséges minimális ellensúly meghatározásáról;
i) tájékoztatás a rendelkezésre álló fékberendezésekről és azok vontatott járművekkel való kompatibilitásáról;
j) a vonóhorog megengedett függőleges terhelése a hátsó gumiabroncs méretétől és a horog típusától függően;
k) tájékoztatás a teljesítményleadó tengelyek és munkagépek együttes használatáról, valamint arról, hogy a tengelyek műszakilag lehetséges dőlésszöge a pajzs formájától és méretéről és/vagy védett terétől függ, beleértve a csökkentett méretű 3. típusú teljesítményleadó tengely esetében szükséges külön tájékoztatást;
l) a megengedett legnagyobb vontatható tömeget feltüntető, előírt táblára vonatkozó adatok ismétlése;
m) arra vonatkozó figyelmeztetés, hogy ne tartózkodjanak a traktor és a vontatott jármű között.
4.3. Zajszintre vonatkozó nyilatkozat
A kezelési útmutatónak meg kell adnia a kezelő fülét érő, az ER. C. Függelék C/10. számú melléklete szerint mért zajszint értékét és a mozgásban lévő traktor ER. C. Függelék C/1. melléklet 2.6. pontja szerint mért zajszintjét.
4.4. Rezgésekre vonatkozó nyilatkozat
A kezelési útmutatónak meg kell adnia a rezgés ER. C. Függelék C/13. számú melléklete szerint mért szintjét.
4.5. A traktor következő főbb üzemmódjai esetében indokoltan várható és megállapítható, hogy különös veszélyekkel járhatnak a következők:
a) homlokrakodóval végzett munka (leeső tárgyak kockázata);
b) erdészeti alkalmazás (leeső és/vagy a kezelőfülkébe behatoló tárgyak kockázata);
c) traktorra szerelt vagy vontatott permetezőgéppel végzett munka (veszélyes anyagok kockázata).
Különös figyelmet kell fordítani a kezelési útmutatóban a traktor és a fenti berendezések együttes használatára.
4.5.1. Homlokrakodó
4.5.1.1. A kezelési útmutatónak tartalmaznia kell a homlokrakodóval végzett munkával járó veszélyek leírását, valamint az ilyen veszélyek elkerülésének magyarázatát.
4.5.1.2. A kezelési útmutatóban fel kell tüntetni a traktor felépítményén azokat a rögzítési pontokat, amelyekre a homlokrakodót fel kell szerelni, valamint a felhasználandó szerelvények méretét és minőségét is. Ha nincsenek ilyen rögzítési pontok, a kezelési útmutatóban meg kell tiltani homlokrakodók felszerelését.
4.5.1.3. A programozható hidraulikus lefutástervezéssel rendelkező traktorok esetében kötelező tájékoztatást adni arról, hogyan kell a rakodó hidraulikát úgy csatlakoztatni, hogy ne működjön ez a funkció.
4.5.2. Erdészeti alkalmazás
4.5.2.1. Amennyiben mezőgazdasági traktort erdészeti célra használnak, a megállapított veszélyek a következők:
a) ledőlő fa, elsősorban abban az esetben, ha a traktor hátuljára szerelik a famarkolót;
b) kezelőfülkébe behatoló tárgyak, elsősorban abban az esetben, ha csörlőt szerelnek a traktor hátuljára.
4.5.2.2. A kezelési útmutatónak tájékoztatást kell adnia a következőkről:
a) a 4.5.2.1. pontban leírt veszélyek fennállása;
b) bármilyen esetleg rendelkezésre álló, opcionális berendezés, amellyel elháríthatók ezek a veszélyek;
c) a traktoron lévő rögzítési pontok, ahova a védőszerkezetek felszerelhetők, valamint a felhasználandó szerelvények mérete és minősége; ha nincs lehetőség megfelelő védőszerkezetek felszerelésére, azt meg kell említeni;
d) a védőszerkezetek körébe tartozó, a kezelőállást a ledőlő fáktól védő keret vagy a fülke ajtaját, tetejét és ablakait védő (hálós) rács;
e) a leeső tárgyak ellen védő szerkezet (ha van) hatásossága.
4.5.3. Permetezőgéppel végzett munka (veszélyes anyagok kockázata)
A veszélyes anyagok elleni védelem MSZ EN 15695–1:2010 szabványnak megfelelő szintjét le kell írni a kezelési útmutatóban.”

4. Az MR. C. Függelék C/23. számú melléklet II. Rész alfüggelékének címében a „MELLÉKLET VALAMELY TRAKTORTÍPUS EK TÍPUSBIZONYÍTVÁNYÁHOZ A SEBESSÉGSZABÁLYZÓRA, VALAMINT A HAJTÓELEMEK, A KINYÚLÓ RÉSZEK ÉS A KEREKEK VÉDELMÉRE VONATKOZÓAN” szövegrész helyébe a „MELLÉKLET TRAKTORTÍPUSNAK A SEBESSÉGSZABÁLYOZÓK, VALAMINT A HAJTÓELEMEK, A KIÁLLÓ RÉSZEK ÉS A KEREKEK VÉDELME, A KÜLÖNLEGES ALKALMAZÁSOKRA VONATKOZÓ KIEGÉSZÍTŐ BIZTONSÁGI KÖVETELMÉNYEK, ILLETVE A KEZELÉSI ÚTMUTATÓ TEKINTETÉBEN TÖRTÉNŐ JÓVÁHAGYÁSÁRA VONATKOZÓ EK-TÍPUS-JÓVÁHAGYÁSI BIZONYÍTVÁNYHOZ” szöveg lép.

„1.3. Különleges alkalmazásokra vonatkozó kiegészítő biztonsági követelmények (ha van ilyen):
1.3.1. Leeső tárgyak ellen védő szerkezetek
1.3.2. A kezelőt védő szerkezetek
1.3.3. Veszélyes anyagokkal történő érintkezés megelőzése.”
„15. A fenti EK típusjóváhagyás számával ellátott alábbi okmányokat csatolták e bizonyítványhoz:
– méretezett rajzok;
– a traktor vizsgált alkatrészeinek rajza vagy fényképe;
– kezelési útmutató.
Ezen adatokat a többi tagállam illetékes hatóságainak kérésükre meg kell küldeni.”
1

Ez a melléklet a 79/2009/EK rendelet végrehajtásához szükséges rendelkezéseket állapítja meg.

2

Ez a melléklet a Tanács 91/226/EGK irányelvével és a Bizottság 2010/19/EU irányelvével összeegyeztethető szabályozást tartalmaz.

*)

Az N1 kategóriájú járművek esetében, illetve a műszakilag a 7,5 tonna legnagyobb megengedett tömeget meg nem haladó, a IV. Rész 0.1. pontjában foglalt eltérést használó N2 kategóriájú járművek esetében az A. Függelék A/37. számú mellékletében meghatározott adatközlő lap is használható.

3

Ez a melléklet a 79/2009/EK rendelet végrehajtásához szükséges rendelkezéseket állapítja meg.

  • Másolás a vágólapra
  • Nyomtatás
  • Hatályos
  • Már nem hatályos
  • Még nem hatályos
  • Módosulni fog
  • Időállapotok
  • Adott napon hatályos
  • Közlönyállapot
  • Indokolás
Jelmagyarázat Lap tetejére